• Добро пожаловать на компьютерный форум Tehnari.ru. Здесь разбираемся с проблемами ПК и ноутбуков: Windows, драйверы, «железо», сборка и апгрейд, софт и безопасность. Форум работает много лет, сейчас он переехал на новый движок, но старые темы и аккаунты мы постарались сохранить максимально аккуратно.

    Форум не связан с магазинами и сервисами – мы ничего не продаём и не даём «рекламу под видом совета». Отвечают обычные участники и модераторы, которые следят за порядком и качеством подсказок.

    Если вы у нас впервые, загляните на страницу о проекте, чтобы узнать больше. Чтобы создавать темы и писать сообщения, сначала зарегистрируйтесь, а затем войдите под своим логином.

    Не знаете, с чего начать? Создайте тему с описанием проблемы – подскажем и при необходимости перенесём её в подходящий раздел.
    Задать вопрос Новые сообщения Как правильно спросить
    Если пришли по ссылке со старого Tehnari.ru – вы на нужном месте, просто продолжайте обсуждение.

Алкомат

  • Автор темы Автор темы trikot
  • Дата начала Дата начала
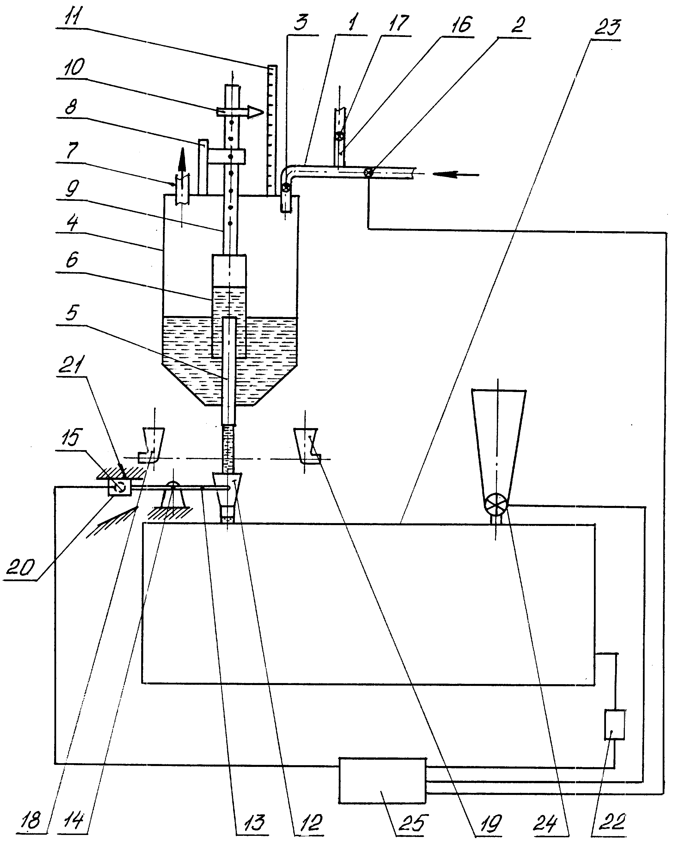
Перистальтический (шланговый) насос.
Ну я примерно так и понял, просто никогда такого не встречал и смутился надежностью. Хотя видя такие вещи, не перестаю удивляться полету человеческой фантазии.
В принципе, все задачи, которые я ставил, я реализовал. Остальное от лукавого.
Да это же как в анекдоте:
-Почему нельзя заниматься сексом на Красной площади?
-Потому что советами замучают!
:))
 
никогда такого не встречал и смутился надежностью
Давно применяется, например, для перекачки крови. Плюсы - жидкость не контактирует ни с чем, кроме трубопровода. Минусы - трубка не вечная. Но и меняется легко.
 
Я вынашивал месяц. Вы переходили...

Мой аппарат планируется для коктейлей. Емкостей с жидкостями ок 10 шт.
Проблема в дозаторе. Вручную качественно изготовить такое количество не могу , а купить то же не могу (дороговато получается). А простого решения - дешево но сердито пока не нашел :)
 
Можно самотеком. Клапан управляется таймером. Для каждого напитка рассчитать необходимое время открытия клапана. Если каждый сорт напитка ставить строго в свое место, то это будет точно. Ну и совсем не дорого.
 
Офигенно! И откуда вы такие рукастые берётесь? Зачётный прибор. Браво мастеру!
 
Большая, интересная и очень профессиональная работа!
 
Мой аппарат планируется для коктейлей. Емкостей с жидкостями ок 10 шт.
Проблема в дозаторе...

Как вариант сифонный дозатор, достаточно прост и демократичен в выборе материала и конструкции, погрешность минимальна. Подобная система дозировки была в уличных автоматах с газировкой, да и в разливных линиях до сих пор в ходу.
 

Вложения

  • 1620055-sifonnyjj-dozator-4.png.webp
    1620055-sifonnyjj-dozator-4.png.webp
    44.7 KB · Просмотры: 118
  • 59381.gif
    59381.gif
    88.9 KB · Просмотры: 249
Назад
Сверху