• Добро пожаловать на компьютерный форум Tehnari.ru. Здесь разбираемся с проблемами ПК и ноутбуков: Windows, драйверы, «железо», сборка и апгрейд, софт и безопасность. Форум работает много лет, сейчас он переехал на новый движок, но старые темы и аккаунты мы постарались сохранить максимально аккуратно.

    Форум не связан с магазинами и сервисами – мы ничего не продаём и не даём «рекламу под видом совета». Отвечают обычные участники и модераторы, которые следят за порядком и качеством подсказок.

    Если вы у нас впервые, загляните на страницу о проекте, чтобы узнать больше. Чтобы создавать темы и писать сообщения, сначала зарегистрируйтесь, а затем войдите под своим логином.

    Не знаете, с чего начать? Создайте тему с описанием проблемы – подскажем и при необходимости перенесём её в подходящий раздел.
    Задать вопрос Новые сообщения Как правильно спросить
    Если пришли по ссылке со старого Tehnari.ru – вы на нужном месте, просто продолжайте обсуждение.

Двигатель на 9 вольт 4 контакта

Не проще ли будет раскурочить другой магнитофон, с двигателем постоянного тока?
 
нашел плату управления от него! подключил, все работает! спасибо всем за помощь!
 
Фотку платки выложить можешь?
 
конечно выложу, погоди маленько
 
вот пожалуйста: со всех ракурсов, чтобы понятнее было! металлическая пластина для крепления платы к корпусу магнитофона
 

Вложения

  • DSCN1551.webp
    DSCN1551.webp
    70.7 KB · Просмотры: 344
  • DSCN1553.webp
    DSCN1553.webp
    117.8 KB · Просмотры: 305
  • DSCN1554.webp
    DSCN1554.webp
    173.9 KB · Просмотры: 258
  • DSCN1555.webp
    DSCN1555.webp
    124 KB · Просмотры: 242
  • DSCN1556.webp
    DSCN1556.webp
    141.7 KB · Просмотры: 382
  • DSCN1558.webp
    DSCN1558.webp
    61.3 KB · Просмотры: 253
  • DSCN1559.webp
    DSCN1559.webp
    48.7 KB · Просмотры: 235
  • DSCN1560.webp
    DSCN1560.webp
    60.7 KB · Просмотры: 250
  • DSCN1561.webp
    DSCN1561.webp
    39 KB · Просмотры: 281
Пол схемы кварцованных часов, чуть добавить и сверлилка с часами получится..
Схему нашёл или наугад поключил?
 
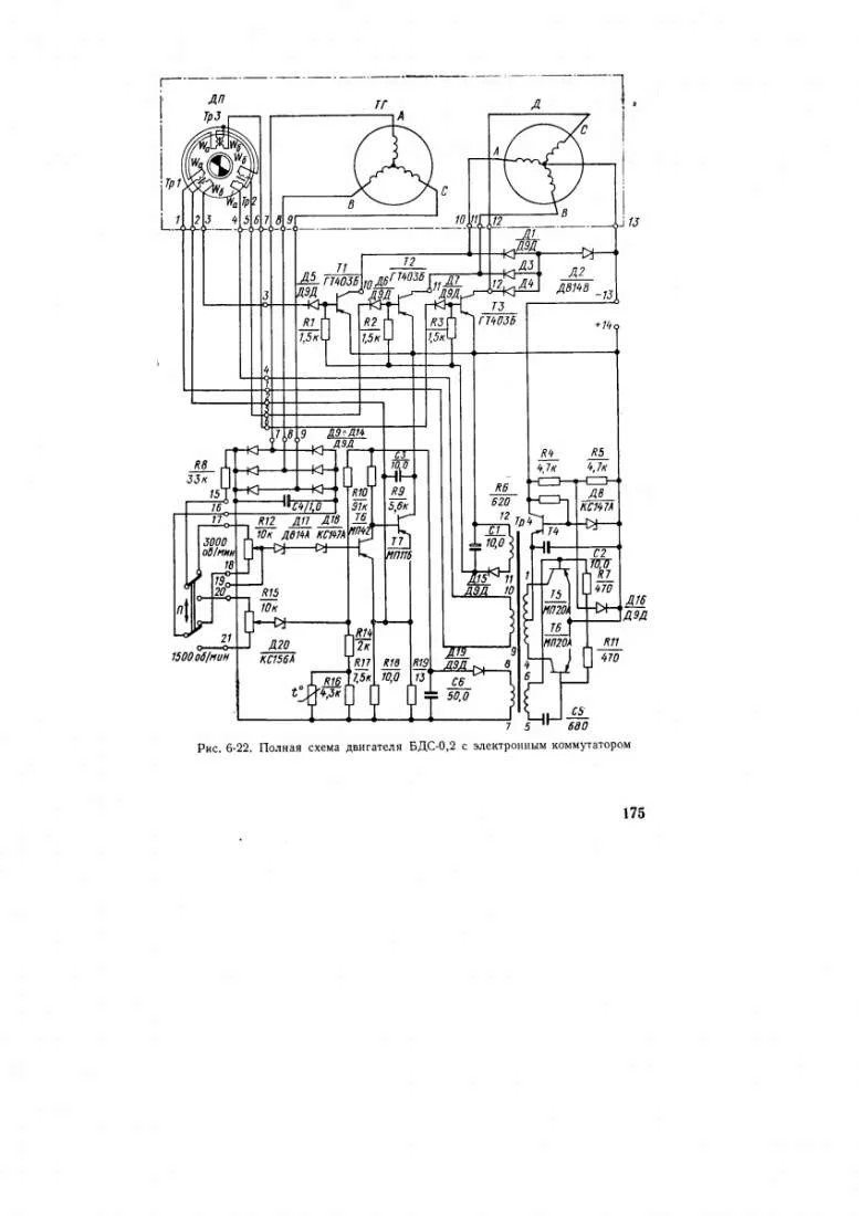
У меня двигатель с платой от магнитофона "Весна 205", там тоже такого наворочано :tehnari_ru_211: со схемой не разберешь, что где, а без схемы и подавно.
 
Пол схемы кварцованных часов, чуть добавить и сверлилка с часами получится..
Схему нашёл или наугад поключил?

там два провода, на плате со стороны дорожек куда припаеваются провода питания есть обозначение, точнее на красном проводе стоит +, подключил и все работает, сначало от кроны запитал, потом от комповского блока питания, полет нормальный! про часы это интересно
 
а что добавить надо:eek:
 
кстати а как его мощность посчитать можно, погуглил, что то ничего не понял
 
У меня двигатель с платой от магнитофона "Весна 205", там тоже такого наворочано со схемой не разберешь, что где, а без схемы и подавно.
На этой плате не только схема управления движком но и видимо стабилизатор частоты вращения ...
 
замерил, когда без нагрузки 0.02А, при нагрузке, ну это так условно пальцем притормаживаю, поднимается до 0.4-0.5А! получается вообще мало ваттов! просто интересно! а рукой тяжело тормозится, а вот такая штука есть у меня http://www.tehnari.ru/727678-post189.html
10 ватт, чуть нажал, уже тормозит, просто не понятно
 
На этой плате не только схема управления движком но и видимо стабилизатор частоты вращения ...

Там двигатель с какими-то датчиками, то ли таходатчики, то ли датчики положения вала, всего девять проводов. Короче, отвались провода от платы управления, назад их я уже вряд ли припаяю правильно. К счастью, они пока на месте :)

Вероятно с таким чудом...
Да, она самая, только транзисторы более современные. По схеме более или менее ясно, куда и что подключается, но провода от двигателя не помечены.
 
Последнее редактирование:
Назад
Сверху