• Добро пожаловать на компьютерный форум Tehnari.ru. Здесь разбираемся с проблемами ПК и ноутбуков: Windows, драйверы, «железо», сборка и апгрейд, софт и безопасность. Форум работает много лет, сейчас он переехал на новый движок, но старые темы и аккаунты мы постарались сохранить максимально аккуратно.

    Форум не связан с магазинами и сервисами – мы ничего не продаём и не даём «рекламу под видом совета». Отвечают обычные участники и модераторы, которые следят за порядком и качеством подсказок.

    Если вы у нас впервые, загляните на страницу о проекте, чтобы узнать больше. Чтобы создавать темы и писать сообщения, сначала зарегистрируйтесь, а затем войдите под своим логином.

    Не знаете, с чего начать? Создайте тему с описанием проблемы – подскажем и при необходимости перенесём её в подходящий раздел.
    Задать вопрос Новые сообщения Как правильно спросить
    Если пришли по ссылке со старого Tehnari.ru – вы на нужном месте, просто продолжайте обсуждение.

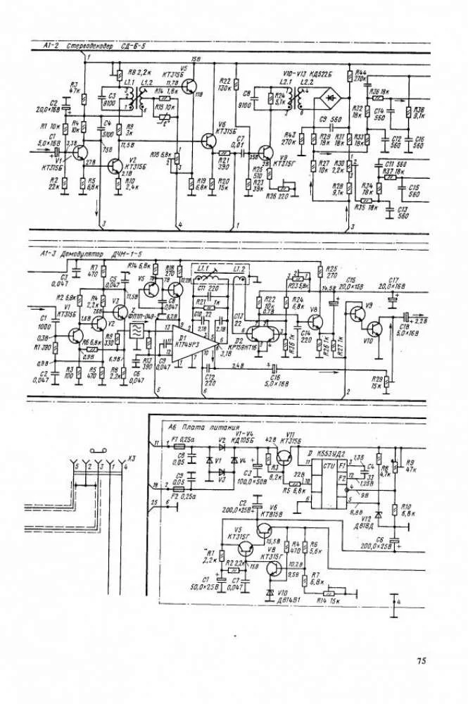
Трансформатор ЕИ4 704 047

  • Автор темы Автор темы andrus
  • Дата начала Дата начала
Вы ошибаетесь,на каждый канал по30В.
 
Как меряете? относительно "земли" или между + и -
 
Я замерял,на один усилитель30В,и на второй тоже,после диодного моста.
 
А измерьте относительно общего провода(земли)! будет +15 и -15(двуполярное питание)
Общий провод должен быть на корпусе трансформатора
 
Понимаете,там куча обмоток.Я бы их все обмерял,но не знаю как,может к ним ещё можно было бы светодиоды подключить?
 
Может и можно... Вытаскивайте трансформатор (запомните куда 220 подключается) и меряйте все обмотки, схему я дал
 
Я не очень компетентен в этом вопросе,если бы вы показали(на фото)где земля?И ещё,мне кажется,что на этом трансе нет двуполярного питания(может я конечно ошибаюсь)я в этом деле совсем новичок.И для питания7293-94 по моему надо30В.
 
Если я Вас правильно полнял,замерять надо полностью отпаяв все провода,т.е.без нагрузки?
 
Да, желательно.

Вот отметил землю, померяйте относительно этого лепестка
 

Вложения

  • Изображение 010.webp
    Изображение 010.webp
    106.3 KB · Просмотры: 1,227
Я всё замерил:4-0
5-11.7
6-2,5
7-0
8-44,3
9-43,4
На обоих катушках одинаково.
 
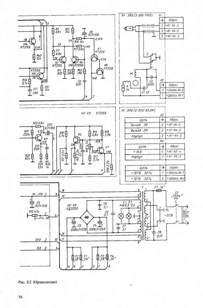
Вот нашёл схему б\п.Может всё таки мне кто нибудь подскажет,хватит ли блока питания для TDA7293 или7294?
 

Вложения

  • p0004.webp
    p0004.webp
    90.4 KB · Просмотры: 1,927
  • p0005.webp
    p0005.webp
    73.1 KB · Просмотры: 1,705
Так,что ни кто не хочет больше со мной пообщаться?
 
Ну чтож,спасибо за помощь,пойду на другой форум может там помогут.
 
мошность транса 100ватт это копия ТС-100
 
Назад
Сверху