• Добро пожаловать на компьютерный форум Tehnari.ru. Здесь разбираемся с проблемами ПК и ноутбуков: Windows, драйверы, «железо», сборка и апгрейд, софт и безопасность. Форум работает много лет, сейчас он переехал на новый движок, но старые темы и аккаунты мы постарались сохранить максимально аккуратно.

    Форум не связан с магазинами и сервисами – мы ничего не продаём и не даём «рекламу под видом совета». Отвечают обычные участники и модераторы, которые следят за порядком и качеством подсказок.

    Если вы у нас впервые, загляните на страницу о форуме и правила – там коротко описано, как задать вопрос так, чтобы быстро получить ответ. Чтобы создавать темы и писать сообщения, сначала зарегистрируйтесь, а затем войдите под своим логином.

    Не знаете, с чего начать? Создайте тему с описанием проблемы – подскажем и при необходимости перенесём её в подходящий раздел.
    Задать вопрос Новые сообщения Как правильно спросить
    Если пришли по старой ссылке со старого Tehnari.ru – вы на нужном месте, просто продолжайте обсуждение.

Зарядное для аккумулятора на 60 Вольт

  • Автор темы Автор темы Spor87
  • Дата начала Дата начала
как вариант :
соедини 5 своих аккумуляторов ПАРАЛЛЕЛЬНО
и заряжай Тринадцатью вольтами при 3,6 амперах !
примерное время заряда 13 часов
Параллельно не желательно, не равномерный заряд будет ... :)
 
Все не так, коллекторы всех четырех транзисторов вместе и на "-" моста.
Эмиттеры КТ816 на базы КТ818, на базах КТ816 резисторы 1 кОм, с этих
резисторов на регулятор. "+" моста напрямую на аккумулятор. Эмиттеры
КТ818 вместе на "-" аккумулятора ... :)

всё равно перегрев:( даже на 1 ампере тока, я уже не знаю что делать...
 
А на Базы КТ818 идет с Эмиттеров КТ816 ?
Напряжение вообще на выходе регулируется ?
Греется без нагрузки, только включил и греется ?
Греются только КТ818 или и КТ816 тоже ? ...
 
А на Базы КТ818 идет с Эмиттеров КТ816 ?
Напряжение вообще на выходе регулируется ?
Греется без нагрузки, только включил и греется ? ...
греется только при подключении нагрузки, без нагрузки ваще не греется, напряжение регулируется вместе с током переменником...
причём всего на одном ампере оба греются так,что до радиатора не докоснёшься....:( :( :(816 вообще не греются
 
Значит все правильно работает и регулируется, просто слишком большое
рабочее напряжение и наверное два канала мало, это единственное, что
может бвть при таком раскладе. Сделай ПЖЛ еще один замер, включи все
как положено на 1А заряда и по меряй напряжение коллектор-эмиттер на
КТ818 обоих ? ...
 
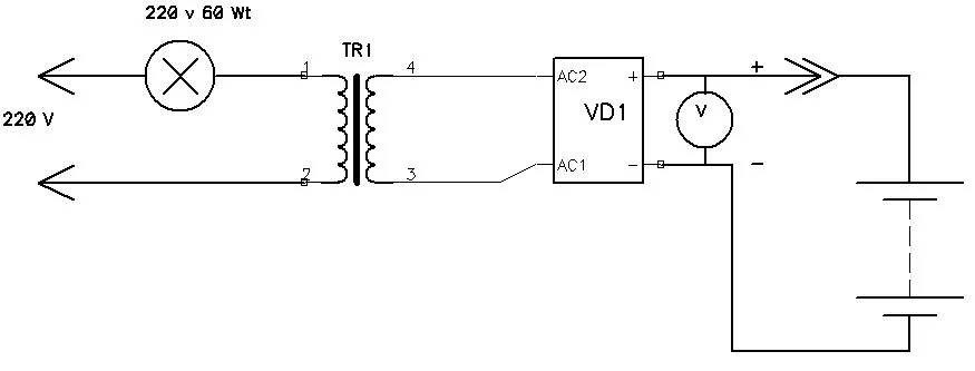
нашёл трансформатор 220->72 не подскажите простую схему для такой зарядки....не ограничиваться же одним диодным мостом...

в цепь первички поставь лампочку 220в(последовательно первичной обмотке трансформатора),подобрать номинал лампочки так,чтобы на амперметре(тот что после диодного моста подключается последовательно с аккумуляторами) показывало 0.7-2 ампер.

ВСЁ-это оптимальный вариант+защита от дураков(замкнул клемы зарядника между собой-засветилась лампочка во весь накал,перепутал полярность,тот же результат и при этом ни чего не погорит)tehno030
 
Хлопцы, тема годичной давности ... :)
 

Вложения

  • 111.webp
    111.webp
    10.1 KB · Просмотры: 162
Назад
Сверху