Получение 15-17 Вольт из 22

Должно быть три провода (левый_правый_общий)
 
Там идет 2 провода, у каждого экран, он же общий.
 
Ребят, снял транс, а перед этим не посмотрел, какие выводы идет на двигатель. НА нем написано 127 Вольт. Чего-то я не соображу, какие подключать?
С остальным разобрался.
 
паралельно одному из кусков первички если не так то поправьте
 
Проверяйте, а то я включу(я себя знаю), а там Ба-бах!:))
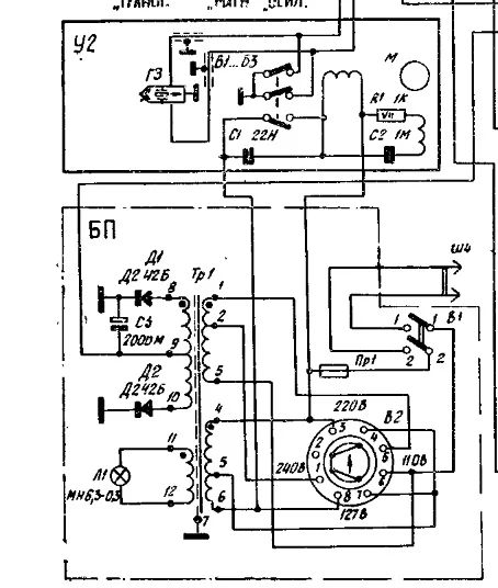
выводы 3-4 - в сеть;
выводы 4-2 - 127В на мотор;
выводы 2-1-5 - соединены. Три потому, что 2-5 это перемычка между 220В обмоткой, а 1-5 это соединение 127В;
выводы 10-9-8 - +/- 18 вольт на выпрямитель;
ну и как и было(не трогал выводы 11-12 5,2 на индикатор сети. Правильно? Данные по трансу - предыдущая старничка.
 
транс и двигатель подключать вот так
 

Вложения

  • Безымянный.webp
    Безымянный.webp
    10.9 KB · Просмотры: 208
Можно и так, но тогда там будет на 127 вольт, А 110, и он будет работать не на полную мощность, тогда скорость вращения диска уменьшится, и пластинка будет играть на N тонов ниже:) Или он возьмет столько, сколько ему нужно??
 
эти двиготели устроенны таким образом что обороты у них будут одинаковы что на 127 что на 100 что на 80 только мощность на валу будет разная . а это стандартная схема включения этих двигов так как их напряжение 127в а в сети не всегда 220 может и 150 вольт быть вот и стоит двиг с запасом
. а как по другому ты хотел двиг включить ? интересно просто .
 
Тогда ясно.
 
Сейчас запустил в сеть, как в посте 26. И почему-то напряжения такие:
с одной стороны показывает 0, с другой 220. Чего-то я вообще ничего ен понимаю. Или мультиметр полетел....
 
тогда скорость вращения диска
Скорость вращения этих двигателей определяется частотой сети ( 50 Гц). Как правильно указал " оборотень" от напряжения зависит мощность на валу.
 
Про двигатель все понял.
А с трансформатором - ступил. Как я схему читал??:)
Там же все есть!(левый нижний угол)
 

Вложения

  • схема.1.webp
    схема.1.webp
    126.7 KB · Просмотры: 2,112
Нашел вторую схему, в первой немного другие обмотки и выводы, как согласно этой схеме подключать к 220В ???
 

Вложения

  • включение.webp
    включение.webp
    32.3 KB · Просмотры: 47
Похоже я нашел правильную схему включения! :)
Сейчас буду проверять. Но втором электрофоне посмотрел вроде все так.
 

Вложения

  • включение.webp
    включение.webp
    90.1 KB · Просмотры: 57
Назад
Сверху