• Добро пожаловать на компьютерный форум Tehnari.ru. Здесь разбираемся с проблемами ПК и ноутбуков: Windows, драйверы, «железо», сборка и апгрейд, софт и безопасность. Форум работает много лет, сейчас он переехал на новый движок, но старые темы и аккаунты мы постарались сохранить максимально аккуратно.

    Форум не связан с магазинами и сервисами – мы ничего не продаём и не даём «рекламу под видом совета». Отвечают обычные участники и модераторы, которые следят за порядком и качеством подсказок.

    Если вы у нас впервые, загляните на страницу о проекте, чтобы узнать больше. Чтобы создавать темы и писать сообщения, сначала зарегистрируйтесь, а затем войдите под своим логином.

    Не знаете, с чего начать? Создайте тему с описанием проблемы – подскажем и при необходимости перенесём её в подходящий раздел.
    Задать вопрос Новые сообщения Как правильно спросить
    Если пришли по ссылке со старого Tehnari.ru – вы на нужном месте, просто продолжайте обсуждение.

Ламповый усилитель 6П3С или Г-807, долгострой

  • Автор темы Автор темы vingor
  • Дата начала Дата начала
Просто люди делятся на тех кто хочет знать и ищет, и на тех кому надо разжевать и в рот положить.
 
на тех кто хочет знать и ищет,
И ищет, и ищет, а годы уходят.
и на тех кому надо разжевать и в рот положить.
Иногда попадаются "косточки" , которые не разгрызаются.
А тем, кто может и искать и жевать, хочется пожелать разборчивости в делении на "тех и этих".
тут ссылки не желательны ..
Юр, ну это понятно. Спасибо!
 
Иногда попадаются "косточки" , которые не разгрызаются.

Бывает. Но всегда видно, кто хочет сам разобраться но не получается, кто хочет чтоб разжевали и в рот положили, а сам лишний раз мозгой прямой шевельнуть не желает.
 
Привет всем! Подскажите, А влияет ли на Ra-a смещение? В оконечном каскаде 2x6п3с смещение автоматическое, какое в этом случае оптимальное Ra-a?
 
Да, забыл схема не ультралинейная и анодное 400v/
 
Странно, ноль внимания, может я не в том месте с данными вопросами, так подскажите?
 
Подскажите, А влияет ли на Ra-a смещение?
Вопрос не корректно был задан... Смещение влияет на сопротивление лампы Ri... А Ra-a это по сути имеет отношение к нагрузке. Эти два понятия связаны отношением которое зависит от режима включения лампы (триодное, тетродное или пентодное).
 
Вопрос не корректно был задан... Смещение влияет на сопротивление лампы Ri... А Ra-a это по сути имеет отношение к нагрузке. Эти два понятия связаны отношением которое зависит от режима включения лампы (триодное, тетродное или пентодное).

Спасибо за разъяснение! Подскажите, какое оптимальное Ra-a для этой схемы
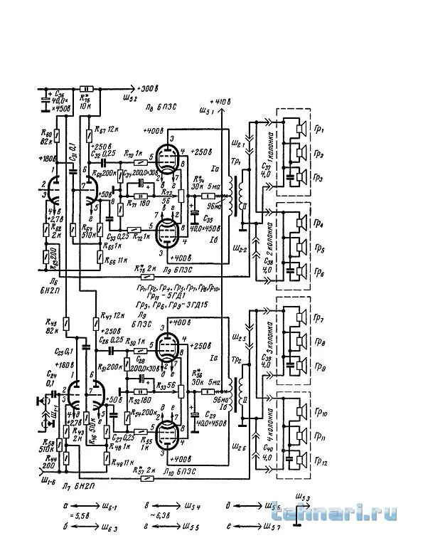
Безымянный.png.webp.
 
Ri - это внутреннее сопротивление лампы;
Ra - это сопротивление нагрузки анодной цепи;

Конечно лучше бы они были равны, Ri = Ra (это в идеале, согласование), чего добиться очень не легко ... :(
 
"Ri - это внутреннее сопротивление лампы;
Ra - это сопротивление нагрузки анодной цепи;

Конечно лучше бы они были равны, Ri = Ra (это в идеале, согласование), чего добиться очень не легко ..."
Не..., в условиях военного времени или у знатоков "в этих ваших интернетах" - очень легко. А по учебникам - У лампы в тетродно-пентодном включении
Ra=0,1...0,15Ri.
В схемке выше у лампы в данном режиме Ri примерно 34 кОм. Следите за руками: 34000*0,1=3,4 кОм, лампы две - 3,4*2=6,8 кОм. Итого - нужен транс с первичкой на 7 кОм.
Ну и Ктр. На 4 ом - 7000/4 и храбро берём корень - примерно 42.
На 8 Ом - 7000/8 и корень - примерно 27.
(Ктр - это отношение витков первички к вторичке)
 
Последнее редактирование модератором:
Следите за руками:
Ну, проследил. А дальше что? Все сразу кинулись штамповать ламповые усилители и они у них сразу заиграли...
А про коэффициент гармоник не хотите разъяснить? Ну раз уж взялись.
 
Тогда, когда уже выходной транс намотан с неподходящим коэффициентом трансформации?
 
Следите за руками: 34000*0,1=3,4 кОм, лампы две - 3,4*2=6,8 кОм. Итого - нужен транс с первичкой на 7 кОм. Ну и Ктр. На 4 ом - 7000/4 и храбро берём корень - примерно 42. На 8 Ом - 7000/8 и корень - примерно 27. (Ктр - это отношение витков первички к вторичке)
Я так понимаю, это просто эмпирический расчет. Сопротивление нагрузки в 10-ть раз меньше внутреннего сопротивления источника сигнала ? Интересное согласование ?... :)
 
Подскажите, какое оптимальное Ra-a для этой схемы
А самому посмотреть документацию на лампу 6П3С что мешает? Стиль жизни в рамках собственных амбиций?:tehnari_ru_509:
В принципе вам тут "эксперты-динозавры" уже ответили (если ваши познания позволяют оценить данные советы). Правда, как всегда, скатились на собственный спор о насущном... Ну да ладно...
У нашего эксперта "Джорджа" здесь есть тема в шапке "Способы включения радиоламп". Рекомендую ознакомится (да и в НЭТе есть много статей про это... описано наиподробнейшим образом).
Внесу ясность: В вашей схеме включение
 
Последнее редактирование:
"ПЕНТОДНОЕ" (двухтактная схема). Не смотря на то что 6П3С это лучевой тетрод лампа допускает три режима включения. В вашем варианте вторая сетка питается через резисторы от источника питания (для получения большей выходной мощности). Для "ультралинейной схемы" нужны отводы от обмоток выходного трансформатора. Если резисторы 2-ой сетки питать через резисторы от концов обмоток тр-ра, то режим называется "триодным". Теперь надеюсь всё ясно?
 
Если резисторы 2-ой сетки питать через резисторы от концов обмоток тр-ра, то режим называется "триодным".
Ну ты и наговорил ?! ... :))
Триодная схема включения, это когда 2-я сетка, через резистор на анодное питание, т.е. 2-я сетка превращается в дополнительный анод. Получается два анода, его можно считать как один. Получается трехэлектродная лампа - анод, сетка, катод - это и есть триод, отсюда триодное включение ... :)
 
Спасибо за разъяснение! Подскажите, какое оптимальное Ra-a для этой схемы
Посмотреть вложение 360006.

Ra-a = 7 кОм. именно для это схемы, этих ламп, в этом режиме. Такой вот эмпирический расчёт, опираясь на черточки с графиков, цыферки со справочных табличек и формулки с учебников.
И т. к. лампы более устойчивы к новичкам и легко допускают ±15% к любому параметру(кроме предельно допустимых электрических режимов), поэтому смело расчитывайте на транс 7-8 кОм. А качество звучания больше зависит от драйверного каскада и качества изготовленного транса, чем от выходных ламп(лишь бы они в режиме ТУ были).
 
Интересное согласование ?...
Очень!
Юрь Андреич, я лучше промолчу, ладно?!
Ну на основании того, что мой вопрос-
про коэффициент гармоник
проигнорирован.
А откуда этот Врач взял
тоже необоснованно.
Я ушёл...
 
Назад
Сверху