• Добро пожаловать на компьютерный форум Tehnari.ru. Здесь разбираемся с проблемами ПК и ноутбуков: Windows, драйверы, «железо», сборка и апгрейд, софт и безопасность. Форум работает много лет, сейчас он переехал на новый движок, но старые темы и аккаунты мы постарались сохранить максимально аккуратно.

    Форум не связан с магазинами и сервисами – мы ничего не продаём и не даём «рекламу под видом совета». Отвечают обычные участники и модераторы, которые следят за порядком и качеством подсказок.

    Если вы у нас впервые, загляните на страницу о форуме и правила – там коротко описано, как задать вопрос так, чтобы быстро получить ответ. Чтобы создавать темы и писать сообщения, сначала зарегистрируйтесь, а затем войдите под своим логином.

    Не знаете, с чего начать? Создайте тему с описанием проблемы – подскажем и при необходимости перенесём её в подходящий раздел.
    Задать вопрос Новые сообщения Как правильно спросить
    Если пришли по старой ссылке со старого Tehnari.ru – вы на нужном месте, просто продолжайте обсуждение.

Межконтинентальная крылатая ракета "Буря"

Параллельно с прорисовкой займусь и тягой, которая передвигает по рельсам транспортно-пусковую установку. В качестве тягача решил взять одну секцию тепловоза ТЭ-3.
 

Вложения

  • 11.2.webp
    11.2.webp
    64.4 KB · Просмотры: 84
  • 11.3.webp
    11.3.webp
    62.8 KB · Просмотры: 53
  • 11.4.webp
    11.4.webp
    31.8 KB · Просмотры: 65
  • 11.1.webp
    11.1.webp
    60.4 KB · Просмотры: 136
А чтобы не делать модель тепловоза с "0". за заготовку для него взял модель китайского тепловоза марки DF, приобретенного мною в магазине детских игрушек и который по внешнему виду большей части элементов и размерам является если не родным, то двоюродным родственником нашему ТЭ-3. Поэтому для меня проще будет перепилить эту модель и привести ее в надлежащий вид.
 

Вложения

  • 11.5.webp
    11.5.webp
    46.1 KB · Просмотры: 278
  • 11.6.webp
    11.6.webp
    69.5 KB · Просмотры: 58
  • 11.7.webp
    11.7.webp
    63.6 KB · Просмотры: 46
  • 11.8.webp
    11.8.webp
    73.1 KB · Просмотры: 63
  • 11.9.webp
    11.9.webp
    49.9 KB · Просмотры: 49
Изменениям в лицевой части тепловоза будут подвергнуты следующие элементы экстерьера:
- лобовое остекление кабины машиниста - перестановка оконных перемычек и щеток дворника-очистителя.
- фары- замена сдвоенных фар на одиночные
- метельник - прорезка отверстий в детали
Еще будут добавлены скобы на лицевую часть и произведена попытка несколько поправить абрис лицевой части.
 

Вложения

  • 12.2.webp
    12.2.webp
    22.1 KB · Просмотры: 52
  • 12.6.webp
    12.6.webp
    23.4 KB · Просмотры: 50
  • 12.5.webp
    12.5.webp
    15.1 KB · Просмотры: 48
  • 12.4.webp
    12.4.webp
    22.5 KB · Просмотры: 56
  • 12.3.webp
    12.3.webp
    15.6 KB · Просмотры: 38
  • 12.1.webp
    12.1.webp
    17.2 KB · Просмотры: 42
Понемногу стал прорисовываться контур подъемной стрелы.
 

Вложения

  • DSC07592.webp
    DSC07592.webp
    47.8 KB · Просмотры: 199
Поупражнявшись в рисовании на бумаге, вырезал несколько вариантов контура подъемной стрелы, из которых выбрал элемент, наиболее похожий на реальный. Затем при помощи этого трафарета перенес контур стрелы в количестве 4-х штук на лист плоского пластика толщиной 0,8мм и ножом вырезал из него заготовки.
 

Вложения

  • 14.webp
    14.webp
    39.5 KB · Просмотры: 54
  • 15.webp
    15.webp
    28.8 KB · Просмотры: 53
Из того же пластика нарезал "лапши", которую приклеил по контуру боковин рамы подъемной стрелы. Затем нарезал заготовки боковой поверхности стрелы и склеил пару боковин. После просушки в из каждой боковин насверлил отверстия облегчения.
 

Вложения

  • 19.webp
    19.webp
    47.6 KB · Просмотры: 67
  • 20.webp
    20.webp
    45.4 KB · Просмотры: 45
  • 18.webp
    18.webp
    30.5 KB · Просмотры: 55
  • 17.webp
    17.webp
    50.4 KB · Просмотры: 50
  • 16.webp
    16.webp
    53 KB · Просмотры: 40
Начал сборку стрелы, вклеив между боковыми рамами перемычки и наложив пару листов с оконными прорезями на эту сборку.
Пройдясь "замыленным" взглядом по содеянному и сравнив все это с фотографиями, с ужасом увидел, что нахалтурил, т.е. сделал стрелу постоянной ширины, хотя в реальности она имеет тенденцию к сужению.
Пришлось срочно произвести необходимые доработки и все привести в надлежащий вид. Что ж, и на старуху бывает проруха...
 

Вложения

  • 21.webp
    21.webp
    28.6 KB · Просмотры: 52
  • 22.webp
    22.webp
    37.6 KB · Просмотры: 49
  • 23.webp
    23.webp
    35.9 KB · Просмотры: 51
На данном этапе сборки получилась вот такая конструкция, которая имеет тенденцию к продолжению обрастания необходимыми элементами.
 

Вложения

  • 24.webp
    24.webp
    45.9 KB · Просмотры: 91
  • 25.webp
    25.webp
    84.9 KB · Просмотры: 69
  • 26.webp
    26.webp
    82.9 KB · Просмотры: 59
  • 27.webp
    27.webp
    35.9 KB · Просмотры: 62
Продолжение тенденции пока выразилось в наклейке сплошной пластины листового пластика на одну из поверхностей стрелы, разметке карандашом "оконных проемов" в этом листе, сверловке отверстий и вырезке ножом проемов, которые в дальнейшем дорабатываются "до кондиции" при помощи круглого напильника, надфиля и ножа.
 

Вложения

  • 28.webp
    28.webp
    38.8 KB · Просмотры: 44
  • 33.webp
    33.webp
    71.5 KB · Просмотры: 62
  • 32.webp
    32.webp
    61.1 KB · Просмотры: 65
  • 31.webp
    31.webp
    55.7 KB · Просмотры: 61
  • 30.webp
    30.webp
    46.3 KB · Просмотры: 47
  • 29.webp
    29.webp
    31.6 KB · Просмотры: 40
В итоге данного этапа работы получилась вот такая конструкция. Следующий этап- повторение предыдущего, только с другой стороны подъемной стрелы.
 

Вложения

  • 34.webp
    34.webp
    41.6 KB · Просмотры: 61
  • 35.webp
    35.webp
    51.7 KB · Просмотры: 58
  • 36.webp
    36.webp
    32.8 KB · Просмотры: 41
Пластина наклеена, просушена и сборка подвергнута обработке ножом и круглым напильником в части вырезания "окон". В результате трехдневных усилий получен остов подъемной стрелы, на который в последующем будут навешиваться ряд деталей, которые я высмотрю на фото и выполню в пластике. А также стрела подлежит стыковке с несущей платформой.
 

Вложения

  • 42.webp
    42.webp
    46.8 KB · Просмотры: 70
  • 43.webp
    43.webp
    45.7 KB · Просмотры: 49
  • 44.webp
    44.webp
    49.3 KB · Просмотры: 56
  • 45.webp
    45.webp
    55.1 KB · Просмотры: 43
  • 40.webp
    40.webp
    67.4 KB · Просмотры: 48
  • 39.webp
    39.webp
    68.8 KB · Просмотры: 48
  • 38.webp
    38.webp
    63.7 KB · Просмотры: 68
  • 37.webp
    37.webp
    53.8 KB · Просмотры: 73
  • 41.webp
    41.webp
    74 KB · Просмотры: 56
В процессе подбора комплектующих для претворения своего замысла в реальность приобрел отличный атрибут в 72-м масштабе - пластиковую железнодорожную насыпь со шпальной решеткой и рельсами от китайской модельной фирмы HOBBY BOSS. В придачу к этому набору друг-моделист презентовал мне из своих "закромов" рельсовые остатки от фирмы PIKO, где рельсовый прокат выполнен из латуни и никелирован. Поскольку ширина колеи у этого набора была менее необходимой мне, то я просто-напросто вынул из шпальной решетки металлические рельсы и вставил их в китайскую шпальную решетку, а одну решетку распустил на отдельные рельсы на полушпалках, необходимые мне в дальнейшей работе.
 

Вложения

  • 46.webp
    46.webp
    83.5 KB · Просмотры: 69
  • 47.webp
    47.webp
    160.2 KB · Просмотры: 56
  • 48.webp
    48.webp
    127.8 KB · Просмотры: 51
  • 49.webp
    49.webp
    119.6 KB · Просмотры: 52
  • 50.webp
    50.webp
    86 KB · Просмотры: 66
  • 51.webp
    51.webp
    48.4 KB · Просмотры: 84
Можно еще накладки приклеить в виде боковой рамы.

Вот этим советом я пожалуй и воспользуюсь. Спасибо за подсказку.
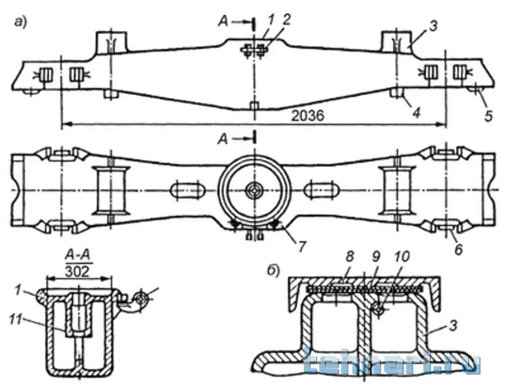
В конце 50-х годов, когда создавалась данная крылатая ракета, железнодорожные вагоны бегали на тележках МТ-50 или ЦНИИ-ХЗ-0 с подшипниками скольжения. Трудно сказать , какие конкретно тележки стояли на железнодорожном лафете-установщике, но "включим дедукцию- и выдадим продукцию".
Судя по тому, что по условиям перемещения ракеты из цеха сборки до позиции старта, удаленной на 25 км, не допускались сильные толчки, удары, вибрация, то более всего под эти условия подходит тележка ЦНИИ-ХЗ-0. От этого условия и будем плясать.
Тележка состоит из надрессорной балки, двух боковин, двух колесных пар с буксами подшипников скольжения и тормозной рычажной системы с триангелями и тормозными колодками.
 

Вложения

  • 55.gif
    55.gif
    33.8 KB · Просмотры: 163
  • 58.webp
    58.webp
    14.5 KB · Просмотры: 126
  • 57.png.webp
    57.png.webp
    38.6 KB · Просмотры: 84
  • 56.webp
    56.webp
    59.6 KB · Просмотры: 309
  • 54.webp
    54.webp
    84.1 KB · Просмотры: 199
  • 53.webp
    53.webp
    73.4 KB · Просмотры: 375
  • 52.webp
    52.webp
    66.4 KB · Просмотры: 69
Такое ощущение, что она была построена в единственном числе ?... :(
 
Для претворения задуманного в жизнь из кусочка листового пластика изготовил шаблон боковой рамы тележки, подогнав его буксовые разъемы под размер межосевого расстояния колесных пар на имеющейся у меня тележке.
Затем при помощи пары капель клея наклеиваю шаблон на заготовку из листового пластика, засверливаюсь по углам сверлом Ф0,8мм, произвожу модельным ножом вырезку внутренних окон в раме. Затем следует зачистка вырезанных окон ножом и надфилем и обрезка детали по внешнему контуру. После зачистки внешнего контура при помощи модельного ножа деталь и шаблон разделяются.
 

Вложения

  • 59.webp
    59.webp
    61.7 KB · Просмотры: 51
  • 60.webp
    60.webp
    45.3 KB · Просмотры: 59
  • 61.webp
    61.webp
    49.1 KB · Просмотры: 47
  • 62.webp
    62.webp
    45.6 KB · Просмотры: 65
  • 63.webp
    63.webp
    58.6 KB · Просмотры: 59
  • 64.webp
    64.webp
    79.6 KB · Просмотры: 57
  • 65.webp
    65.webp
    88.3 KB · Просмотры: 51
  • 66.webp
    66.webp
    64.1 KB · Просмотры: 69
Получена одна заготовка боковины. Подобным же образом изготавливаем и вторую заготовку.
У меня в наличии имеются тележки от игрушечной платформы, которую я стараюсь переделать в железнодорожный лафет-установщик крылатой ракеты "Буря" ОКБ Лавочкина.
Ну, игрушка есть игрушка, и вот что она собой представляет. Рама тележки и боковины отлита из полиэтилена, что есть совсем не "гуд" для ее обработки. Но за неимением другого приходится пользоваться тем, что есть. Рессорный комплект представляет какую-то забугорную конструкцию, буксовые узлы очень даже упрощены. Будем перепиливать...
 

Вложения

  • 68.webp
    68.webp
    74.7 KB · Просмотры: 59
  • 71.webp
    71.webp
    41.4 KB · Просмотры: 57
  • 69.webp
    69.webp
    95.1 KB · Просмотры: 56
  • 70.webp
    70.webp
    67.7 KB · Просмотры: 45
Разбираем игрушечную тележку, вынимая из нее колесные пары.
Затем при помощи модельного ножа срезаем все лишнее с боковин, оставив лишь часть пружинного комплекта и обрезаем овальные буксовые узлы до прямоугольной формы.
Следующей операцией является приклейка вновь изготовленных из листового пластика боковин и выступающей части надрессорной балки на раму тележки. На буксовые узлы наклеиваются квадратики заготовок новых буксовых узлов, которые после сушки подвергаются обработке надфилем и окончательной отделке крышки буксы.
 

Вложения

  • 73.webp
    73.webp
    19.3 KB · Просмотры: 39
  • 74.webp
    74.webp
    37.1 KB · Просмотры: 62
  • 75.webp
    75.webp
    42.8 KB · Просмотры: 61
  • 76.webp
    76.webp
    30.3 KB · Просмотры: 51
  • 77.webp
    77.webp
    42.3 KB · Просмотры: 43
  • 78.webp
    78.webp
    22.2 KB · Просмотры: 45
  • 79.webp
    79.webp
    28.4 KB · Просмотры: 63
  • 80.webp
    80.webp
    26.8 KB · Просмотры: 50
  • 81.webp
    81.webp
    67.6 KB · Просмотры: 141
В результате получается нечто, похожее издали на тележку ЦНИИ-ХЗ-0.
Но не совсем, поскольку на тележку еще навешивается тормозное оборудование в виде триангелей с тормозными колодками и системой рычагов, связанных с тормозным цилиндром. Все это хозяйство скрыто под платформой в глубине тележки и на модели его особенно никто и не увидит (если только не будет снимать платформу с рельс и переворачивать).
Но что-то закусило -сделаю все ,как должно быть, а увидят или нет-???
Триангели выгнул из стальной проволоки, рычаги и тормозные колодки вырезал из листового пластика и все детали установил на штатные места.Снизу тележки из пластика изобразил некое подобие надрессорной балки.
В последующем, уже в сборке на платформе установлю тормозной цилиндр, рабочую камеру в воздухораспределителем, переключателем режимов, запасной воздушный резервуар, рычаги, воздушную магистраль, ручной тормоз.
Короче, "пилите Шура, пилите..."
 

Вложения

  • 83.webp
    83.webp
    18.7 KB · Просмотры: 139
  • 85.webp
    85.webp
    62.9 KB · Просмотры: 43
  • 84.webp
    84.webp
    61.6 KB · Просмотры: 43
  • 82.gif
    82.gif
    110.1 KB · Просмотры: 108
В итоге получилась вот такая тележка и на крайнем фото она стоит под платформой рядом со своей предшественницей. Теперь осталось повторить все вышеописанные процедуры еще два раза и сделать еще пару подобных тележек, которые затем подвергнуть окончательной очистке, грунтовке, покраске.
 

Вложения

  • 86.webp
    86.webp
    60.7 KB · Просмотры: 56
  • 87.webp
    87.webp
    54.7 KB · Просмотры: 58
  • 88.webp
    88.webp
    51.3 KB · Просмотры: 44
  • 89.webp
    89.webp
    55 KB · Просмотры: 47
  • 90.webp
    90.webp
    43.1 KB · Просмотры: 46
  • 91.webp
    91.webp
    50.4 KB · Просмотры: 50
  • 92.webp
    92.webp
    57 KB · Просмотры: 39
  • 93.webp
    93.webp
    54.5 KB · Просмотры: 45
  • 94.webp
    94.webp
    52.2 KB · Просмотры: 59
Назад
Сверху