• Добро пожаловать на компьютерный форум Tehnari.ru. Здесь разбираемся с проблемами ПК и ноутбуков: Windows, драйверы, «железо», сборка и апгрейд, софт и безопасность. Форум работает много лет, сейчас он переехал на новый движок, но старые темы и аккаунты мы постарались сохранить максимально аккуратно.

    Форум не связан с магазинами и сервисами – мы ничего не продаём и не даём «рекламу под видом совета». Отвечают обычные участники и модераторы, которые следят за порядком и качеством подсказок.

    Если вы у нас впервые, загляните на страницу о форуме и правила – там коротко описано, как задать вопрос так, чтобы быстро получить ответ. Чтобы создавать темы и писать сообщения, сначала зарегистрируйтесь, а затем войдите под своим логином.

    Не знаете, с чего начать? Создайте тему с описанием проблемы – подскажем и при необходимости перенесём её в подходящий раздел.
    Задать вопрос Новые сообщения Как правильно спросить
    Если пришли по старой ссылке со старого Tehnari.ru – вы на нужном месте, просто продолжайте обсуждение.

Помогите, не могу разобраться с TDA1558Q

ВНЗ. мне не охота делать свой бп.у меня есть компьютерный.а тот что я когдато сделал используется в другом деле
 
зачем тогда спрашиваешь: от чего мне запитать унч?
 
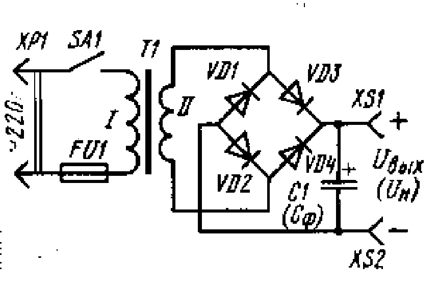
Можно от такого блока питания:

А какой тут конденсатор стоит?
Эл.конденсатор 4700 на 35в так?
3...5 ампера мост диодный тут ясно.
Блок питания тда15хх это сам трансформатор или что?
 
...или что? - БЛОК ПИТАНИЯ это и трансформатор и выпрямитель и фильтр
 
а можно дать на пару вольт меньше или можно только 12в?
 
Куда дать?
 
питание на усилок
 
Усилитель на TDA1558Q работает в диапазоне напряжений о 6 до 18 вольт.
 
да.
Но ! Он даст ,два по двадцать-два только при 14-16 вольт , и токе не меньше 4-х Ампер
 
  • Like
Реакции: BH3
да там схема 3 элемента
Транс 10,5 вольт 5А
диодный мост на 10А, не меньше 20вольт
кондёр 10000мкф 25Вольт


asco оперидил)))
 
спасибо всем
 
Назад
Сверху