• Добро пожаловать на компьютерный форум Tehnari.ru. Здесь разбираемся с проблемами ПК и ноутбуков: Windows, драйверы, «железо», сборка и апгрейд, софт и безопасность. Форум работает много лет, сейчас он переехал на новый движок, но старые темы и аккаунты мы постарались сохранить максимально аккуратно.

    Форум не связан с магазинами и сервисами – мы ничего не продаём и не даём «рекламу под видом совета». Отвечают обычные участники и модераторы, которые следят за порядком и качеством подсказок.

    Если вы у нас впервые, загляните на страницу о форуме и правила – там коротко описано, как задать вопрос так, чтобы быстро получить ответ. Чтобы создавать темы и писать сообщения, сначала зарегистрируйтесь, а затем войдите под своим логином.

    Не знаете, с чего начать? Создайте тему с описанием проблемы – подскажем и при необходимости перенесём её в подходящий раздел.
    Задать вопрос Новые сообщения Как правильно спросить
    Если пришли по старой ссылке со старого Tehnari.ru – вы на нужном месте, просто продолжайте обсуждение.

Помогите разобраться с трансформатором

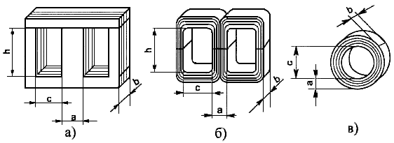
По опыту, ни когда не полагайтесь на габаритную мощность, главное сечение провода обмотки
ну да, давай спросим у автора какой провод, скажет он (ну допустим) 0,3мм, и что нам это даст? Не зная габаритов железа это вообще пустая цифра. А зная габаритную мощность, можно уже примерно понять сколько может выдать железка. Далее уже можно определиться нужно больше инфы, либо примерной хватит (для какой-то цели). Самое верное это разумеется замерить нагружая транс падение на вторичках, но осилит ли автор это?
 

Вложения

  • PG5HI31Gveg.jpg
    PG5HI31Gveg.jpg
    89 KB · Просмотры: 90
  • kUqCOy_REpQ.jpg
    kUqCOy_REpQ.jpg
    166.6 KB · Просмотры: 85
  • fhTEX64WGn8.jpg
    fhTEX64WGn8.jpg
    178.7 KB · Просмотры: 54
  • JFtS35s0Yuo.jpg
    JFtS35s0Yuo.jpg
    230 KB · Просмотры: 50
  • y_JAv5UWnQI.jpg
    y_JAv5UWnQI.jpg
    206.7 KB · Просмотры: 61
Я и не предлагаю выяснять, это для демонстрации, что такое габаритная мощность, а вот, проверка по температуре нагрева, это то, что надо, это я сам делал и не раз.
Согласно ГОСТ 8865- 70 разогрев эмалированного провода не должен быть более 105оС (Класс А группа 1 п 9-эмальпровода)
Учитывая ограниченную теплопроводность, то нагрев трансформатора допустимый ок 70-80оС. Это мах возможный при мах нагрузке и температуре окружающей среды 40-45оС, т.е. dT,=40.
Подключить мах нагрузку и контролировать температуру, если разница более 40оС, то трансформатор со временем откажет .
Это совсем не сложно. Часто даже измерять не надо, подключил нагрузку, если слегка теплый через час работы, то все в порядке, если нормально теплый, то надо измерят, или искать замену.
Информацию о сечении, соотв и максимальной мощности, дает измерение сопротивление обмотки.
 
Последнее редактирование:

Вложения

  • mr_str.gif
    mr_str.gif
    3.5 KB · Просмотры: 120
Я и не предлагаю выяснять, это для демонстрации, что такое габаритная мощность, а вот, проверка по температуре нагрева, это то, что надо, это я сам делал и не раз.
Согласно ГОСТ 8865- 70 разогрев эмалированного провода не должен быть более 105оС (Класс А группа 1 п 9-эмальпровода)
Учитывая ограниченную теплопроводность, то нагрев трансформатора допустимый ок 70-80оС. Это мах возможный при мах нагрузке и температуре окружающей среды 40-45оС, т.е. dT,=40.
Подключить мах нагрузку и контролировать температуру, если разница более 40оС, то трансформатор со временем откажет .
Это совсем не сложно. Часто даже измерять не надо, подключил нагрузку, если слегка теплый через час работы, то все в порядке, если нормально теплый, то надо измерят, или искать замену.
Информацию о сечении дает измерение сопротивление обмотки.

Термометра только у меня контактного нету, только бесконтактный ик
 
Термометра только у меня контактного нету, только бесконтактный ик

Я меряю вообще спиртовым, на 150оС, они есть в любом хозмаге, стоят 1 доллар (у нас столько же стоит пачка сигарет), используются в автоклавах. Точность измерения в 1 оС вполне нормальная для наших целей, можно проверить по температуре кипения дистиллированной воды и учитывать погрешность (у моего температура кипения дистиллированной воды 99оС).
 
можно проверить по температуре кипения дистиллированной воды и учитывать погрешность (у моего температура кипения дистиллированной воды 99оС).
да ни к чему все эти сложности
1. температура кипения водопроводной и дистиллированной воды отличается на десятые доли градуса
2. температура кипения зависит от атмосферного давления и 100 С будет только при 760 мм рт. ст.
3. если палец терпит нагрев 5 сек., значит нагрев допустимый
 
Читаю и дивуюсь - мы его на Марс готовим?. Транс от муз центра - мощность центра 150ватт, транс, значит минимум на 100-120 ватт. Первичка, скорее всего, универсальная-японо-американо-европейская. 2х110(100)+ вольтдобавка (для амеров в параллель, для нас последовательно +"хвостик" если надо.
Ну и если правильно промерил вторички 35 и 65вольт (что как то стремно, двухполярка должна бы быть), то по 1амперу на обмотку(100ватт и получаем).
 
да ни к чему все эти сложности
1. температура кипения водопроводной и дистиллированной воды отличается на десятые доли градуса
2. температура кипения зависит от атмосферного давления и 100 С будет только при 760 мм рт. ст.
3. если палец терпит нагрев 5 сек., значит нагрев допустимый

об этом уже говорил, #24
Это совсем не сложно. Часто даже измерять не надо, подключил нагрузку, если слегка теплый через час работы, то все в порядке, если нормально теплый, то надо измерят, или искать замену.
А вообще я довольно часто так меряю, я так настраиваю температуру сработки теплозащиты ( обычно по
таким параметрам гистерезиса: отключение- 70оС, и включение- 60оС), и так прикрепляю к корпусу ключа.
 
Последнее редактирование:
Черный рыжий и белый, это силовые вторички скорее всего а не первички, первички красные с обратной стороны...
 
Я меряю вообще спиртовым, на 150оС, они есть в любом хозмаге, стоят 1 доллар (у нас столько же стоит пачка сигарет), используются в автоклавах. Точность измерения в 1 оС вполне нормальная для наших целей, можно проверить по температуре кипения дистиллированной воды и учитывать погрешность (у моего температура кипения дистиллированной воды 99оС).

О спасибо, это идея. Как приобрету, так попробую ваш метод.
 
Черный рыжий и белый, это силовые вторички скорее всего а не первички, первички красные с обратной стороны...

Нет, красные подходят к плате с регуляторами напряжений, на них 9вольт вообще
 
Черный рыжий и белый, это силовые вторички скорее всего а не первички, первички красные с обратной стороны...
Промерить сопротивление, у первички самое большое, хотя, как понял, центр то кое-как включался, шипел...
 
С первичкой разобрался уже, не разобрался почему по заводской схеме на оранжевый прилетает 265вольт а на белый 230вольт, и как это хозяйство запитать без их схемы просто от сети.
 
да ни к чему все эти сложности
1. температура кипения водопроводной и дистиллированной воды отличается на десятые доли градуса
2. температура кипения зависит от атмосферного давления и 100 С будет только при 760 мм рт. ст.
3. если палец терпит нагрев 5 сек., значит нагрев допустимый

При 740 мм водяного столба Т кипения будет 99,29оС (разнича в 0,71оС). Но такое давление бывает при пасмурной погоде или дожде. Т.е. кипение должно быль ок 100оС по любому.
Вот расчет, тут кипение при 1 атм 99,09оС, тут применяется техническая атмосфера, а она немного отличается от реальной. Эбулиоскопическая константа воды 0,51оС, т.е. 29 г соли на литр воды (за счет диссоциации 1 моль частичек дают пол моля вещества) понизят температуру всего на 0.51оС, согласен, температура кипения воды с водопровода мало отличается от кипения дистиллированной.
 

Вложения

  • 2.PNG.jpg
    2.PNG.jpg
    51.1 KB · Просмотры: 76
Короче мужики, я выхожу из дискуссии, вы тут уже воду кипятите, спорите при какой температуре она закипает, меряете напряжения, при этом не зная как подключить трансформатор к сети... Короче спалите транс - продолжим уже дискуссию о том как перемотать его.
 
да уж задача
в сети 228
черный - белый 228
черный - оранжевый 265
куда подключить сеть tehno015
 
Назад
Сверху