• Добро пожаловать на компьютерный форум Tehnari.ru. Здесь разбираемся с проблемами ПК и ноутбуков: Windows, драйверы, «железо», сборка и апгрейд, софт и безопасность. Форум работает много лет, сейчас он переехал на новый движок, но старые темы и аккаунты мы постарались сохранить максимально аккуратно.

    Форум не связан с магазинами и сервисами – мы ничего не продаём и не даём «рекламу под видом совета». Отвечают обычные участники и модераторы, которые следят за порядком и качеством подсказок.

    Если вы у нас впервые, загляните на страницу о проекте, чтобы узнать больше. Чтобы создавать темы и писать сообщения, сначала зарегистрируйтесь, а затем войдите под своим логином.

    Не знаете, с чего начать? Создайте тему с описанием проблемы – подскажем и при необходимости перенесём её в подходящий раздел.
    Задать вопрос Новые сообщения Как правильно спросить
    Если пришли по ссылке со старого Tehnari.ru – вы на нужном месте, просто продолжайте обсуждение.

Помогите сделать печатные платы

схема не сложная, но похожая на ту что у меня есть от У-7101....
может посмотрете на ее фтки и скажите как там дорожки соеденить, и я бы не мучался со зборкой новой..
 
сейчас посмотю
 
помоему неправильно
 

Вложения

  • DSCF0272.webp
    DSCF0272.webp
    76.6 KB · Просмотры: 95
неа, ето не правильно...
 
тогда я незнаю
 
ето не хорошо...
 
Можно попытаться восстановить использую схему.
 

Вложения

а смотрел по схеме, но мне что то неплучается......
не знаю, или я не правильно что то делаю, или что то не работает.......:tehnari_ru_281:
 
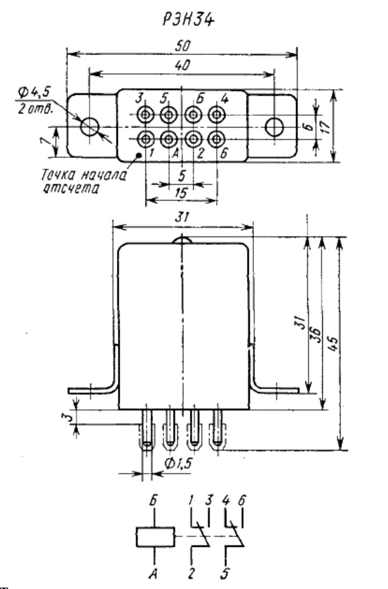
подскажыте как точно на релюшкеРЭН34 маркируются выводы??
и скажыте на плату защиты только -31 В подается, потому что я не нахожу найти вывод на +31
 
Питание -31В и общий.
 

Вложения

  • РЭН34.webp
    РЭН34.webp
    28.8 KB · Просмотры: 518
А-Б ето типа общий?
и скажыте , там как то одинаково что "Б" а что "6", "Б" внизу или в верху????
 
А-Б это обмотка реле, 6 справа внизу
 
а как считать....надписями к себе?? или от себя?
 
все я понял. там точка есть
 
Прозвоните мультиметром
 
мне кажется у меня другая плата....
схемы У-101 у вас нету??
 
Те что есть - близнецы
 

Вложения

нет платы защиты чучуть иначе, посмотрите в У7101 нету выводов 8 и 9,...
а в У101 они есть, и мне интересно что туда подключается, что ето за транзюк??
 
Это транзистор в качестве термодатчика, расположен на радиаторах выходных транзисторов, при повышении температуры срабатывает защита
 
ага понял значит мне етого не надо....но я всеравно не могу дорожки возобновить....что то мне не сходится.......и все тут....я в отчаяне
 
Назад
Сверху