Вот моя реализация усилителя для наушников Игоря Семынина.
Схема есть на
сайте автора. Для повторения был выбран двухканальный вариант, трехканальный конечно хорош отсутствием конденсаторов на выходе, но постоянка не сразу устанавливается.
Схема девайса:
отличается простотой, но очень требовательна к качеству ВСЕХ комплектующих, как и все схемы без ООС. Так что китайские SQP и наши К73-17 лучше не использовать.
В оригинальном варианте схемы используется сборка из 2Т602 и 2Т980 (последние достаточно дороги, а с учетом того, что надо взять хотя бы десяток для подбора… но не всегда и десятка хватит).
Так же есть альтернативные варианты: BD139+MJE3055T, BD139+2Т908. Тут простор для творчества. Впаивай — слушай результат. Кто-то может найдет другие хорошие пары.
Я делал на таких комплектующих:
BD139 + MJE3055T (планирую заменить на 2SC4794)
эмиттерные резисторы С5-5В 15Ом ±2%
входные конденсаторы EPCOS 1 мкФ MKP (полипропиленовый диэлектрик)
выходные конденсаторы Panasonic
В отличие от совпедовских деталей буржуйские обладают намного меньшим разбросом характеристик, из 10 штук MJE все были с коэффициентом 75 с небольшими отличиями после запятой.
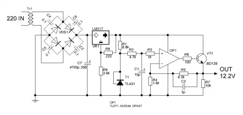
Блок питания было решено сделать по такой схеме:
В таких схемах надо использовать ОУ, которые стабильны при КУ=1, сразу скажу что NE5534 не подойдет, т.к. устойчив с КУ>3. Я поставил недорогой и обладающий хорошими характеристиками OP07 производства TI. Вообще я попробовал 3 варианта ОУ: TL071, OP07. OP27. С помощью осциллографа смотрел количество шумов на выходе, в результате получилось так (по увеличению шумов): OP07, OP27. TL071. Чего собственно и следовало ожидать после изучения даташитов.
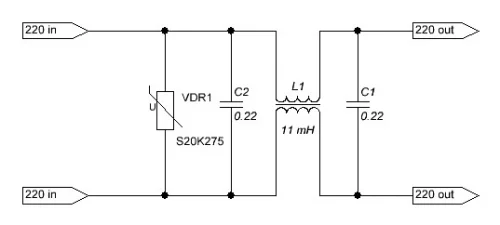
Для максимальной фильтрации цепей питания был сделан сетевой фильтр:
Печатные платы БП и усилителя:
В реале получилось так:
Площадь каждого радиатора чуть больше 300 квадратов (должно хватить).
Транзисторы закрепил с помощью креплений, вытащенных из БП:
Поселил в корпус:
