• Добро пожаловать на компьютерный форум Tehnari.ru. Здесь разбираемся с проблемами ПК и ноутбуков: Windows, драйверы, «железо», сборка и апгрейд, софт и безопасность. Форум работает много лет, сейчас он переехал на новый движок, но старые темы и аккаунты мы постарались сохранить максимально аккуратно.

    Форум не связан с магазинами и сервисами – мы ничего не продаём и не даём «рекламу под видом совета». Отвечают обычные участники и модераторы, которые следят за порядком и качеством подсказок.

    Если вы у нас впервые, загляните на страницу о форуме и правила – там коротко описано, как задать вопрос так, чтобы быстро получить ответ. Чтобы создавать темы и писать сообщения, сначала зарегистрируйтесь, а затем войдите под своим логином.

    Не знаете, с чего начать? Создайте тему с описанием проблемы – подскажем и при необходимости перенесём её в подходящий раздел.
    Задать вопрос Новые сообщения Как правильно спросить
    Если пришли по старой ссылке со старого Tehnari.ru – вы на нужном месте, просто продолжайте обсуждение.

Новая жизнь усилителю "Вега"

Процесс монтажа заторможен китайцами, купил припой, а он не плавится. tehnouzi
 
Процесс монтажа заторможен китайцами, купил припой, а он не плавится. tehnouzi

ЕС! А я думал, что мне одному так не свезло! Я в Испании купил две катушки с припоем, а он сволота плавится не желает!
 
ЕС! А я думал, что мне одному так не свезло! Я в Испании купил две катушки с припоем, а он сволота плавится не желает!

Тоже самое было. Или он плавился, но не паял. Скатывался и все. tehno015
 
Я тоже купил две катушки в прошлом году, а там как будто чистый свинец :(
 
Похоже, что нельзя брать по 2 катушки, это проклятие :D
 
как я вас понимаю. у самого катушка лежит решил взять "подороже-покачественней", а он не плавится, думал паяльник не может нагреть мощи мол мало, а оно вон как - не я один такой.
 
Ну вы лохи!-) Я на припое не экономлю, покупаю в ближайшем магазине, плавится нормально всегда!
 
А вот как его угадать, если в продажа нет проверенного? Хотя в принципе не экономлю, в данном усилители платы и сигнальные провода паял без свинцовым припоем с содержанием серебра 3 процента.
 
А чего угадывать? Берешь в руки, по гибкости и блеску при определенном опыте работы вероятность определения качества припоя достаточно высока.
 
на вкус, цвет, запах и вес вряд ли это возможно точно определить.
 
Зайди в ломбард. Они тебе золото от любой подделки на зуб отличат!
ну это уже другой разговор, отличить золото от цветного металла, и то условное определение, там еще пробы есть.
 
Новая задняя панель, завтра обработаю края по периметру, покрашу и ВУАЛЯ!
 

Вложения

  • DSC00989_PerfectPhoto.cz_2014-01-30 18-30-03.webp
    DSC00989_PerfectPhoto.cz_2014-01-30 18-30-03.webp
    6.6 KB · Просмотры: 169
Распаял сигнальные провода. Надо будет еще сделать защиту.
Хочется знать мнение знатоков, о том как развел провода.
 

Вложения

  • DSC00992.webp
    DSC00992.webp
    40.7 KB · Просмотры: 222
  • DSC00993.webp
    DSC00993.webp
    43.5 KB · Просмотры: 151
  • DSC00994.webp
    DSC00994.webp
    34.7 KB · Просмотры: 158
Не, ну надо же было такой радиатор придумать! Я вот всё смотрю на него, и просто офигеваю! Ведь этот усеритель был спроектирован и изготовлен не на продовощной базе имени Клары Целкин , а на заводе Вега. Руки бы по самые пятки оторвать! Они бы ещё из фольги радиатор намотали, а транзисторы выходные изолентой ( в целях экономии ) примотали!.
 
в прошлом году хотел купить такой усилок, в инете посмотрел на внутренность и желание сразу пропало.
 
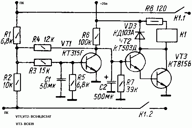
Какую схему защиты посоветуете?
Может схема Бриг
 

Вложения

  • atent.gif
    atent.gif
    9 KB · Просмотры: 542
Какую схему защиты посоветуете?
Может схема Бриг
Да, Бриг самое то:)
По разводке: провода питания сплетают в косички для уменьшения наводок и общего фона, но если его нет, тогда порядок;)
P.S. Провода видимо даром достались, раз такое сечение:)) Или снято так, но на вид квадрата 4
 
Назад
Сверху