• Добро пожаловать на компьютерный форум Tehnari.ru. Здесь разбираемся с проблемами ПК и ноутбуков: Windows, драйверы, «железо», сборка и апгрейд, софт и безопасность. Форум работает много лет, сейчас он переехал на новый движок, но старые темы и аккаунты мы постарались сохранить максимально аккуратно.

    Форум не связан с магазинами и сервисами – мы ничего не продаём и не даём «рекламу под видом совета». Отвечают обычные участники и модераторы, которые следят за порядком и качеством подсказок.

    Если вы у нас впервые, загляните на страницу о форуме и правила – там коротко описано, как задать вопрос так, чтобы быстро получить ответ. Чтобы создавать темы и писать сообщения, сначала зарегистрируйтесь, а затем войдите под своим логином.

    Не знаете, с чего начать? Создайте тему с описанием проблемы – подскажем и при необходимости перенесём её в подходящий раздел.
    Задать вопрос Новые сообщения Как правильно спросить
    Если пришли по старой ссылке со старого Tehnari.ru – вы на нужном месте, просто продолжайте обсуждение.

Новая жизнь усилителю "Вега"

Тумблер выдержит, панель я бы сделал черное глянцевое стекло;)
 
Но тогда тумблер и ручка переменика будут выделяться :)
 
а на зеркале думаешь не будут?
Вобще я, лично, всегда думал о стеклянной панели, хотелось бы увидеть реализацию:) Еще интереснее если панель прозрачная, внутри все аккуратненько закреплено и спаяно, легкая подсветка, дабы подчеркнуть внутренности:) ИМХО
 
На простом зеркале смотрится лучше, но зеркало дешево смотрится:)
 
а елси за место тумблера поставить реле, сиотреться будет покрасивее, ну или тумблер как от компьютерного бп, он по размерам маленький да и смотрится норм :) а переменик можно установить чуть по дальше и взять плоскую ручку чтоб сильно не выперала, и будет норм. ну и взять зеркало золотого цвета под винтаж tehno015
 
Докупил деталей, будем заканчивать:) Подскажите как подключить реле? Реле РЭС47
 

Вложения

  • DSC01016.webp
    DSC01016.webp
    11.7 KB · Просмотры: 181
Так, что ли?
 

Вложения

  • DSC01018.webp
    DSC01018.webp
    10.1 KB · Просмотры: 148
На фото плохо видна нумерация контактов, а на схеме их вообще нет ???... :)

P.S. Сначала скажи для чего это? Это реле не двухканальное ... :)
 
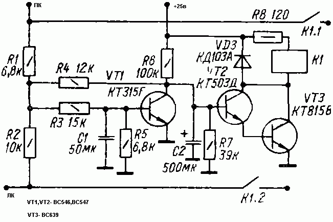
Реле на схему защиты, реле взял РЭС 47
 

Вложения

  • atent.gif
    atent.gif
    9 KB · Просмотры: 1,128
  • 4188181_2.webp
    4188181_2.webp
    17.1 KB · Просмотры: 1,016
Ночью сделал защиту, так как ночью не нашел где распечатать пришлось рисовать маркером. Дорожки конечно не очень, мягко говоря:D
 

Вложения

  • DSC01020.webp
    DSC01020.webp
    30.1 KB · Просмотры: 141
  • DSC01024.webp
    DSC01024.webp
    24.8 KB · Просмотры: 108
  • DSC01027.webp
    DSC01027.webp
    28.7 KB · Просмотры: 109
  • DSC01029.webp
    DSC01029.webp
    20.5 KB · Просмотры: 198
Серёг, главное чтоб работало :)
 
Обычным перманентным рисовал? Да, главное чтоб работало!
 
а разве можно сделать печатку маркером обычным? если да то пойду накуплю маркеров и РИСОВАТЬ ПЕЧАТКИ!!!!tehno035
Лазерного принтера нету =( а на обычном как я понимаю нельзя сделать?
 
не загружай человека))) пусть постепенно втягивается:trio:

koresch так я не понял,маркером можно сделать печатку?
и кстати я знаю что такое фоторезист, я не тупой =)
 
Назад
Сверху