• Добро пожаловать на компьютерный форум Tehnari.ru. Здесь разбираемся с проблемами ПК и ноутбуков: Windows, драйверы, «железо», сборка и апгрейд, софт и безопасность. Форум работает много лет, сейчас он переехал на новый движок, но старые темы и аккаунты мы постарались сохранить максимально аккуратно.

    Форум не связан с магазинами и сервисами – мы ничего не продаём и не даём «рекламу под видом совета». Отвечают обычные участники и модераторы, которые следят за порядком и качеством подсказок.

    Если вы у нас впервые, загляните на страницу о проекте, чтобы узнать больше. Чтобы создавать темы и писать сообщения, сначала зарегистрируйтесь, а затем войдите под своим логином.

    Не знаете, с чего начать? Создайте тему с описанием проблемы – подскажем и при необходимости перенесём её в подходящий раздел.
    Задать вопрос Новые сообщения Как правильно спросить
    Если пришли по ссылке со старого Tehnari.ru – вы на нужном месте, просто продолжайте обсуждение.

Чёрный проекционный экран

  • Автор темы Автор темы DDREDD
  • Дата начала Дата начала
Статус
В этой теме нельзя размещать новые ответы.
Для лучшего сравнения сократил в два раза состав смеси малого пробника-Смесь 9ml-toner black,10ml Dulux,17.5ml silver,17.5ml vgt,15ml вода фильтр
Большой пробник-смесь 20ml silver,20ml кукурузный крахмал,7.5ml toner black,10ml vinil metilan клей,50ml вода фильтр...Странно, надо подумать почему так...
 
При сравнении пробников заметил что белый без оттенка на пробнике с кукурузным крахмалом...что радует,но меньший угол из за добавления клея,который образует пленку которая как и грунтовка уменьшает углы обзора..думаю все же прикупить Базу для эмалей как замену воде для лучшей вязкости и сцепляемости с основой..смесь нужно чем то разводить иначе очень густая..Но улучшения все же есть-1 пробник намного стал темнее и белый меньше подсаживает...Так что с крахмалом думаю продолжить пробы...Ваши мысли по этому поводу?..
 
При сравнении пробников заметил что белый без оттенка на пробнике с кукурузным крахмалом...что радует,но меньший угол из за добавления клея,который образует пленку которая как и грунтовка уменьшает углы обзора..думаю все же прикупить Базу для эмалей как замену воде для лучшей вязкости и сцепляемости с основой..смесь нужно чем то разводить иначе очень густая..Но улучшения все же есть-1 пробник намного стал темнее и белый меньше подсаживает...Так что с крахмалом думаю продолжить пробы...Ваши мысли по этому поводу?..

Органика всё таки.. Думаю крахмал себя как то проявит со временем.. пожелтеет например, или ещё что-то.
 
Из векипедии..Крахмал-применяют в промышленности для обработки тканей, в бумажной — в качестве наполнителя. Кроме того крахмал входит в состав большинства колбас, майонез В мире наибольшее применение крахмал нашёл в целлюлозо-бумажной промышленности, насчитывая миллионы метрических тонн ежегодно..Ну что же эмали тоже со временем желтеют..а желтеет ли крахмал еще вопрос...
 
Надо опробывать такой вариант-смесь 20ml silver,20ml кукурузный крахмал,5ml toner black,20ml вода фильтр.:nasos:
 
Совсем недавно в настоящее время на смену обычного крахмала пришел крахмал восстановленный – модифицированный. Создан он в современных химических лабораториях и настоящее время имеет широкое распространение во всех сферах производства. В том числе и в производстве продуктов питания. Восстановленный крахмал добавляют в пищевые добавки, в корм скоту, в выпечку и т.д., но не будем отвлекаться от обойного клея, в который тоже добавляют модифицированный крахмал. Благодаря составу «обновленного клейстера», у такого клея появились достоинства: обои становятся устойчивей к заплесневению, к набегам тараканов и долго не допускают желтизны.
 
Совсем недавно в настоящее время на смену обычного крахмала пришел крахмал восстановленный – модифицированный. Создан он в современных химических лабораториях и настоящее время имеет широкое распространение во всех сферах производства. В том числе и в производстве продуктов питания. Восстановленный крахмал добавляют в пищевые добавки, в корм скоту, в выпечку и т.д., но не будем отвлекаться от обойного клея, в который тоже добавляют модифицированный крахмал. Благодаря составу «обновленного клейстера», у такого клея появились достоинства: обои становятся устойчивей к заплесневению, к набегам тараканов и долго не допускают желтизны.

Клей Quelyd как раз на модифицированном крахмале, сейчас сохнет пробник на нем..
обои становятся устойчивей к заплесневению, к набегам тараканов и долго не допускают желтизны- это из-за присадок антибактериальных
 
Distrax я в смесь крахмал в виде порошка добавляю...но посмотрим что в итоге..рецепт какой? Мысль была в смесь шпаклевку финишную белую добавить вместо белил,как вариант..
 
Distrax я в смесь крахмал в виде порошка добавляю...но посмотрим что в итоге..рецепт какой? Мысль была в смесь шпаклевку финишную белую добавить вместо белил,как вариант..

Рецепта как такового не было, сделал основной слой как можно темнее и с большим количеством металлика, а второй слой на основе клея из крахмала с небольшим кол-вом белой краски, хочу сделать этот "мутно-белый" слой.
Зачем шпатлевку?
 
Distrax какой результат?
 
Белая рамка вокруг экрана..а мне понравилась идея...
 

Вложения

  • 3.webp
    3.webp
    15.7 KB · Просмотры: 142
  • 5.webp
    5.webp
    8.9 KB · Просмотры: 123
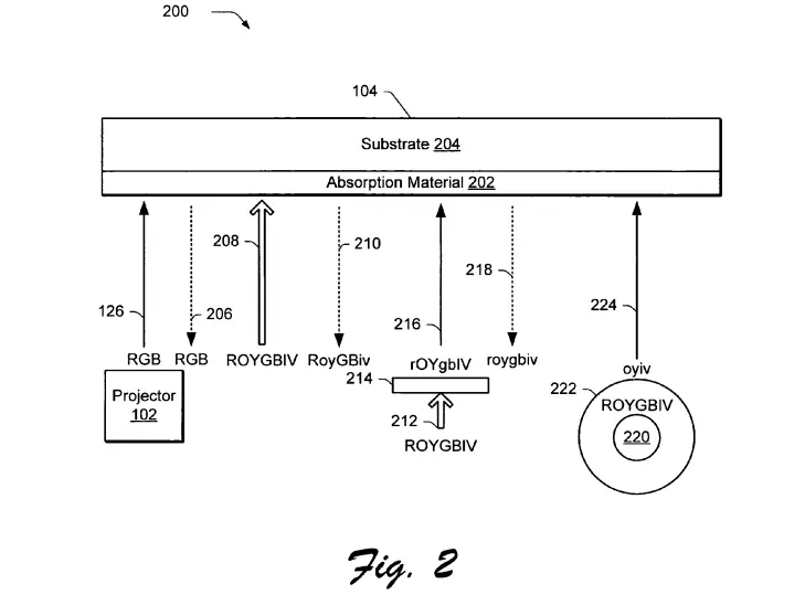
Sony Заявка на патент США 20040061935
Вид код А1
Ohsako, Джуничи; и другие 1 апреля 2004
________________________________________
Проекционный экран и способ его изготовления


Абстрактный
Проекционный экран включает в себя множество выпуклых частей, выступающей в качестве легкого управления диффузии части, на поверхности подложки. Оптический тонкая пленка покрывает подложку и имеет выпуклые участки, имеющие ту же форму, что и выпуклыми участками подложки. Когда внешний свет входит в оптический тонкую пленку со светом в трех диапазонах длин волн основных цветов, оптический тонкая пленка отражает только свет в трех диапазонах длин волн цветовых и по крайней мере поглощает видимый свет от внешнего света. Когда свет в трех основных групп цветовых длин волн перпендикулярно входит оптический тонкую пленку, лучи света имеют углы падения на выпуклых частей оптической тонкой пленки и диффузно-отраженного под углом в два раза углах падения. Таким образом, заданный процент света рассеивается, чтобы увеличить угол обзора экрана.
________________________________________
Изобретатели: Ohsako, Джуничи ; (JP) ; Kakinuma, Masayasu ; (Канагава, JP) ; Chubachi, Hideya ; (JP) ; Хаяси, Хироши ; (Канагава, JP)
Адрес для переписки: Рэнди Дж. Притцкеровской
Волк, Гринфилд & Мешки, PC
600 Atlantic Avenue
Бостон
Массачусетс
02210
США
Назначена: Sony Corporation
Токио
JP
ID семьи: 30437154
И ее применения. №: 10/614688
Поданный: 7 июля 2003
________________________________________
Текущий класса США: 359/449 ; 359/452
Текущий КПК Класс: G03B 21/56 20130101
Класс в публикации: 359/449 ; 359/452
Международного класса: G03B 021/56; G03B 021/60
________________________________________
Иностранные данных Применение
________________________________________
Дата Код Заявка
5 июля 2002 JP JP2002-197313
________________________________________
Претензии
________________________________________


Формула изобретения: 1. Проекционный экран, на котором изображение отображается путем получения проекции света, включающий в себя: подложку; часть света диффузии управления на поверхности подложки, имеющее множество выпуклыми участками или вогнутыми участками; и оптический тонкая пленка на светлой части управления диффузии, оптической тонкой пленки, имеющего выпуклые участки или вогнутые участки, имеющие ту же форму, что выпуклых или вогнутых участков светового части управления диффузии, оптической тонкой пленки отражающего света в определенном диапазон длин волн и передают по меньшей мере видимого света, кроме света в определенном диапазоне длин волн. 2. Проекционный экран в соответствии с п.1, в котором выпуклые участки или вогнутые участки светло управления диффузии части формируются путем обработки подложки. 3.Проекционный экран по п.2, отличающийся тем, что выпуклые участки или вогнутые участки предназначены с помощью оптического моделирования с тем, чтобы определить угол отражения света от оптической тонкой пленки.4. Проекционный экран в соответствии с п.3, в котором выпуклые участки или вогнутые участки светло управления диффузии части имеют сферические поверхности. 5. Проекционный экран по п.1, в котором свет часть управления диффузии включает в себя: множество сферических шариков, имеющих заданный диаметр; и шарик-фиксация слой заполнения пространства между бисером исправить бисером. 6. Проекционный экран по п.5, в котором толщина шарик-фиксирующего слоя устанавливается по отношению к диаметру гранул, тем самым определяя угол отражения от оптического тонкой пленки. 7. Проекционный экран по п.1, в котором оптический тонкая пленка содержит диэлектрический слоистого материала, включающего попеременно ламинированных слоев с высоким показателем преломления и низким показателем преломления слоев, а толщина каждого слоя диэлектрического ламината в интервале от 80 до 200 нм. 8. Проекционный экран по п.7, отличающийся тем, высокой отражающей индексные слои содержат материал, выбранный из группы, состоящей из Nb.sub.2O.sub.5, TiO 2 и Ta.sub.2O.sub. 5. 9. Проекционный экран по п.8, отличающийся тем, что с низким уровнем показателя преломления слои содержат SiO 2 или MgF.sub.2. +10. Проекционный экран по п.1, дополнительно содержащий легкий слой поглощения для поглощения света, прошедшего через оптическое тонкой
пленки. 11. Проекционный экран по п.10, в котором свет поглощающий слой содержит черной краской. 12. Проекционный экран по п.11, в котором подложка действует как световой поглощающего слоя. 13. Проекционный экран в соответствии с п.12, в котором подложка содержит макромолекулярного вещества. 14. Проекционный экран по п.13, отличающийся тем, что высокомолекулярные материалы выбирают из группы, состоящей из поликарбоната, полиэтилентерефталата, полиэтиленнафталат, сульфон полиэфира и полиолефина. 15. Проекционный экран по п.1, отличающийся тем, что проекция света является лазерный луч. 16. Проекционный экран по п.1, в котором конкретный диапазон длин волн включает полосу длин волн красный, зеленый диапазон длин волн, и синий группу. Длины волны 17. Способ изготовления проекционный экран, на котором изображение отображается на получение проекции света, причем способ содержит этапы, на которых: формируют управление светом диффузии часть, имеющую множество выпуклыми участками или вогнутыми участками на поверхности подложки; и формирование оптического тонкую пленку на светлой части управления диффузии так, чтобы иметь выпуклые участки или вогнутые участки, имеющие ту же форму, что и выпуклыми или вогнутыми участками светлой части управления диффузии, оптической тонкой пленки отражает свет в определенной длине волны группа и передачи по крайней мере видимого света, кроме света в определенном диапазоне длин волн. 18. Способ изготовления согласно проекционный экран п.17, отличающийся тем, что управление светом диффузии часть образована путем обработки подложки. 19.Способ изготовления проекционный экран по п.18, отличающийся тем, что управление светом диффузии часть предназначена с помощью оптического моделирования, так что выпуклые участки или вогнутые участки светло управления диффузии части определить угол отражения света от оптической тонкой пленки. 20. Проекционный экран по п.19, отличающийся тем, что выпуклые участки или вогнутые участки светло управления диффузии части имеют сферические поверхности. 21. Способ изготовления проекционный экран по п.17, в котором этап формирования светового порционная диффузии включает следующие подстадии этапы: формирование множества сферических шариков, имеющих заданный диаметр; и формирование шарик-фиксирующий слой между бортами исправить бисером. 22. Способ изготовления проекционный экран по п.21, отличающийся тем, что толщина шарик-фиксирующего слоя устанавливается по отношению к диаметру гранул, тем самым определяя угол отражения от оптического тонкой пленки. 23. Способ изготовления согласно проекционный экран п.17, в котором оптический тонкая пленка содержит диэлектрический слоистого материала, включающего попеременно ламинированных слоев с высоким показателем преломления и низким
показателем преломления слоев, а толщина каждого слоя диэлектрического ламината в диапазон от 80 до 200 нм. 24. Способ изготовления проекционный экран в соответствии с п.23, отличающийся тем, что высокого отражательного индекса слои сформированы из материала, выбранного из группы, состоящей из Nb.sub.2O.sub.5, TiO 2 и Ta. sub.2O.sub.5. 25. Способ изготовления в соответствии проекционный экран п.24, отличающийся тем, что с низким уровнем показателя преломления слои формируются из SiO 2 или MgF.sub.2F.sub.2. 26. Способ изготовления проекционный экран по п.17, дополнительно включающий стадию формирования легкий слой поглощения для поглощения света, прошедшего через оптическое тонкой пленки. 27. Способ изготовления в соответствии проекционный экран в п.26, в котором свет поглощающий слой содержит черной краской. +28. Способ изготовления согласно проекционный экран п.27, в котором подложка действует как световой поглощающего слоя. 29. Способ изготовления проекционный экран в соответствии с п.28, в котором подложка выполнена из макромолекул материала. 30. Способ изготовления согласно проекционный экран п.29, в котором макромолекул рный материал выбран из группы, состоящей из поликарбоната, полиэтилентерефталата, полиэтиленнафталат, сульфон полиэфира и полиолефина. 31. Способ изготовления проекционный экран в соответствии с п.17, в котором конкретный диапазон длин волн включает полосу длин волн красный, зеленый диапазон длин волн, и синий полосу длин волн. Patent #6,769,774 – Ambient light tolerant image projection method and system
 
DDREDD Вы в патенте сони разберетесь?
 
Способ изготовления проекционный экран в соответствии с п.17, в котором конкретный диапазон длин волн включает полосу длин волн красный, зеленый диапазон длин волн, и синий полосу длин волн. Patent #6,769,774 – Ambient light tolerant image projection method and system
Похоже идея с RGB не такая уж провальная...:tehnari_ru_942:
 
Ну у них(sony.Co ) какой то слишком уж мудренный способ получения эффекта черный экран...
 

Вложения

  • 7.webp
    7.webp
    53.4 KB · Просмотры: 170
На AVS форуме обсуждали вопрос по RGB...
 

Вложения

  • 6757654.webp
    6757654.webp
    56.1 KB · Просмотры: 78
  • 525x525px-LL-58fcadad_vbattach24200.webp
    525x525px-LL-58fcadad_vbattach24200.webp
    9 KB · Просмотры: 135
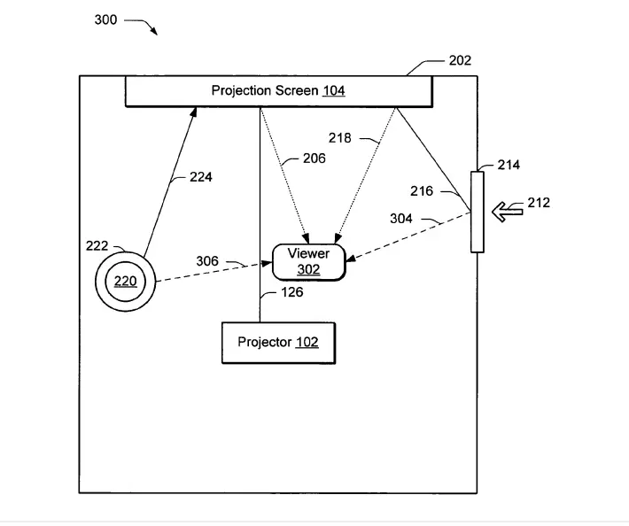
Из описания патента выдрал картинки...
 

Вложения

  • 889.webp
    889.webp
    18.5 KB · Просмотры: 88
  • 56456.webp
    56456.webp
    14 KB · Просмотры: 84
  • 8833.webp
    8833.webp
    35.2 KB · Просмотры: 89
  • 87867.webp
    87867.webp
    11.3 KB · Просмотры: 75
  • 7040764.pdf
    7040764.pdf
    13.2 KB · Просмотры: 190
PDF не загрузился ...Приношу извинения!!!:tehnari_ru_942:DDREDD я скинул Вам ссылку...
 
Статус
В этой теме нельзя размещать новые ответы.
Назад
Сверху