• Добро пожаловать на компьютерный форум Tehnari.ru. Здесь разбираемся с проблемами ПК и ноутбуков: Windows, драйверы, «железо», сборка и апгрейд, софт и безопасность. Форум работает много лет, сейчас он переехал на новый движок, но старые темы и аккаунты мы постарались сохранить максимально аккуратно.

    Форум не связан с магазинами и сервисами – мы ничего не продаём и не даём «рекламу под видом совета». Отвечают обычные участники и модераторы, которые следят за порядком и качеством подсказок.

    Если вы у нас впервые, загляните на страницу о форуме и правила – там коротко описано, как задать вопрос так, чтобы быстро получить ответ. Чтобы создавать темы и писать сообщения, сначала зарегистрируйтесь, а затем войдите под своим логином.

    Не знаете, с чего начать? Создайте тему с описанием проблемы – подскажем и при необходимости перенесём её в подходящий раздел.
    Задать вопрос Новые сообщения Как правильно спросить
    Если пришли по старой ссылке со старого Tehnari.ru – вы на нужном месте, просто продолжайте обсуждение.

Часы на отечественных элементах

Валер, ничего не выходит, тупо горят восьмеркой, на замыкания тысячу раз проверял, я уже отчаялся, не знаю что мне делать :( , попробую микрухи заменить.
 
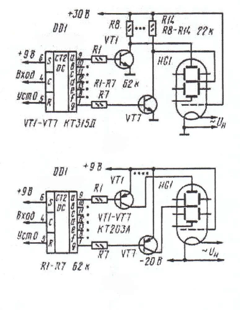
Ставь транзисторы такие, как на рисунке.
 

Вложения

  • Рисунок1.webp
    Рисунок1.webp
    113.6 KB · Просмотры: 841
Валерий, как у тебя получается делать такие аккуратные перемычки:D
 
Поставил КТ972 на разряды-не робят вообще тока с КТ973, а на сегменты КТ361 поставил, у тебя так как на рисунке? Сейчас горит нолями, но по истечении даже 5 минут показания не меняются
 
Вот нашел по микросхемам и моим индикаторам. Схему нужно будет переделывать?
 

Вложения

  • 14-5.webp
    14-5.webp
    11.8 KB · Просмотры: 309
  • iv11_1.gif
    iv11_1.gif
    2.8 KB · Просмотры: 487
  • indikat4.gif
    indikat4.gif
    9.2 KB · Просмотры: 1,782
Вот схема подключения люминесцентных индикаторов.
 

Вложения

  • Рисунок1.webp
    Рисунок1.webp
    91.4 KB · Просмотры: 1,067
Поставил КТ972 на разряды-не робят вообще тока с КТ973, а на сегменты КТ361 поставил, у тебя так как на рисунке? Сейчас горит нолями, но по истечении даже 5 минут показания не меняются
Да у тебя получается, что не те транзисторы стоят в управлении анодами, они и не будут работать. Попробуй поставить КТ315 вместо КТ972.
 
Я понимаю, вас уже все задолбали с этими часами, но вы не могли бы для меня схему набросать? А микросхемы теже использовать?
 
Нет, не могу. Я с люминесцентным ни разу не делал. И не могу понять, чем тебя светодиодные не устраивают?
 
Валера! Реакция пошла! Я поставил КТ315 на аноды и индикаторы начали перемаргиваться, раньше такого не было, тупо горели. откликнулись на нажатие кнопок! Большое тебе человеческое спасибо! кстати, не подскажешь мощные n-p-n транзисторы? А то 315-е греются так, что можно на них яичницу жарить :D
 
Когда-то я тему на сайте увидел, загорелся. Нашел у мужичка эти лампы подешевке, а теперь мучаюсь с ними. Ладно, спасибо за беспокойство, у меня уже желание отпало на них делать.
 
Валера! Реакция пошла! Я поставил КТ315 на аноды и индикаторы начали перемаргиваться, раньше такого не было, тупо горели. откликнулись на нажатие кнопок! Большое тебе человеческое спасибо! кстати, не подскажешь мощные n-p-n транзисторы? А то 315-е греются так, что можно на них яичницу жарить :D
Ставь КТ815, они отлично подойдут.
 
ОК, спасибо! Теперь на конкурс...:)
 
Ты хоть фотографии выложи своего творения.
 
Потом, когда корпус сделаю, пока что тестю:)
 
Всем привет. Валерий, вот тоже небольшой "трабл" возник спаял часики по схеме с общим анодом вроде все работает кроме подстройки минут и часов, при нажатии на подстройку или часов или минут индикаторы начинают моргать и цифры не меняются в чем может быть дело?
 
Проверь правильность включения развязывающих диодов.
 
проверял раза три по схеме все правильно но на всякий случай впаял наоборот вообще ничего не происходило значит все таки стояли правильно, может проблема в ИЕ18?
 
Тоже может быть, но скорее всего ляп на плате.
 
маловероятно, эти часы на первые, спаял первый раз с общим катодом так все работает на ура, а в этой схемке точнее на рисунке написано было КТ972а ну я и впаял по дурости потом только доперло что другие должны стоять может я ее подполил ну ИЕ18?
 
Назад
Сверху