• Добро пожаловать на компьютерный форум Tehnari.ru. Здесь разбираемся с проблемами ПК и ноутбуков: Windows, драйверы, «железо», сборка и апгрейд, софт и безопасность. Форум работает много лет, сейчас он переехал на новый движок, но старые темы и аккаунты мы постарались сохранить максимально аккуратно.

    Форум не связан с магазинами и сервисами – мы ничего не продаём и не даём «рекламу под видом совета». Отвечают обычные участники и модераторы, которые следят за порядком и качеством подсказок.

    Если вы у нас впервые, загляните на страницу о проекте, чтобы узнать больше. Чтобы создавать темы и писать сообщения, сначала зарегистрируйтесь, а затем войдите под своим логином.

    Не знаете, с чего начать? Создайте тему с описанием проблемы – подскажем и при необходимости перенесём её в подходящий раздел.
    Задать вопрос Новые сообщения Как правильно спросить
    Если пришли по ссылке со старого Tehnari.ru – вы на нужном месте, просто продолжайте обсуждение.

Мигающий светодиод

вот, вроде верно
Мы вроде как хотели задействовать Только один триггер. С 6 ноги на 9 ногу (я так понимаю), происходит переход на второй триггер и увеличивает деление...
Потому и выход взяли с 6 ноги (я так понял). Ну соответственно и +12 на 10 ногу не нужно (если триггер не задействован)
 
Нам нужен к деления близкий к 200, а одна половинка дает всего К деления 16 раз, только задействовав и другую половинку микросхемы мы получим К деления -256.
Да, еще, КМОП логика не любит, когда на не задействованный вход не подключен лог 0 или лог 1, нельзя его оставлять в воздухе, тогда на входе будет неопределенность, и микросхема может сгореть. Это ТТЛ, к примеру К155ЛА3, и другие, те от рождения имеют на входе лог1, а КМОП логика таким свойством не обладает.
А вот делитель на 561ИЕ20, тут все гораздо проще.
 

Вложения

  • 1.PNG.webp
    1.PNG.webp
    17.7 KB · Просмотры: 312
Нам нужен к деления близкий к 200
нет, я уже писал
лоханулся и никто не поправил
посчитал об/мин за частоту
если принять максимум 3000 об/мин, то частота будет максимум 50 гц, значит больше чем на 16 делить нет смысла
если принять максимум 1000 об/мин, то частота будет максимум 16,6 гц, значит больше чем на 8 делить нет смысла
резюме: достаточно одного счетчика 561ие1, или 561ие2
если уже купили 561ие10, то использовать половину микросхемы - только один счетчик

Цитата:
Сообщение от v1ct0r
с 11, 12, 13, или 14(скорее всего) подать сигнал на ключ светодиода
Цитата:
Сообщение от v1ct0r
если уже купили 561ие10, то использовать половину микросхемы - только один счетчик

т.е на ключ подавать с 5 или 6 ноги
 
А вот делитель на 561ИЕ20, тут все гораздо проще.
Полностью согласен, просто. Только тут полсказывают, что ошиблись с расчетами и надо делить не на 200.
 
Вот, более читабельно.
К561ИЕ20 не программируемая, у нее даже входов для записи кода нет. И взяв соотв выход можно получить К деления и 16, и 32, и 64
Можно сделать, конечно, другой К деления, используя схему ИЛИ, вот пример, в качестве ИЛИ используются диоды(так же можно сделать и и для ИЕ10)
Тут К деления равно 100.
 

Вложения

  • 2.webp
    2.webp
    43.2 KB · Просмотры: 516
  • 1.PNG.webp
    1.PNG.webp
    12.2 KB · Просмотры: 340
Да... ребяты...
Тоже через резистор?
Если вы не правильно читаете документацию, то неужели так трудно найти практическую схему. Я схемы намного сложнее лет в 15 уже разрабатывал и собирал... А в то время под рукой только журнал "Радио" и никаких интернетов и форумов. Сейчас всё так доступно. Внимательней нужно быть...
 
Только у ИЕ16 пропущены К деления на 4, 8. А так они похожи. И могут в Вашем случае менять друг друга, только выходы другие. (CD4020)
 
только не 4096, а 8192, что еще класснее
что то я снова не правильно посчитал - таки 4096 :)
561ие16 аналогичная 561ие20?
аналогичная, только у ие20 буферизированные выходы - большая нагрузочная способность, чем у ие16
 
Я схемы намного сложнее лет в 15 уже разрабатывал и собирал
Тут явно не место, где пис..ми меряются. Здесь написано, что "Электроника для начинающих", а так же указано, что в этом разделе помогают и не придираются... В противном случае я бы залез на другой сайт, где реально, нахер посылают с распросами и обучением (вобщем, именно по этому я там и не бываю). Потому что знаю, что тут адекватные технари и не царапают носом штукатурку на потолке.
Ну я в 15 лет, тоже много чего делал в жизни, в 17 выучился на автослесаря и собрал запорожец, только этим не хвастаюсь, в 18 лет уже был инструктором вождения, потому что хотел быть механиком-водителем, а в итоге, сам стал учить механиков, а в 20 лет уже занимался юридической деятельностью и учил жизни от мало до велика, и разруливал разные жизненные ситуации, а так же жизни человеческие спасал... Перечислять много чего можно, включая и спорт. И Вот решил познать и электронику, ботанику, химию и физику, сельское хозяйство, робототехнику, программирование... А почему же нет? Пенсия выработана. Или если мне исполнилось 35, то я теперь должен всю жизнь чем-то одним заниматься? Считаю, человек должен всё уметь, ну и какую-нибудь профессию в идеале. Одну я знаю. Остальные у меня как хобби. Потому как нравится и эти задатки были с самого детства. Но время расставило жизнь всё иначе. Но тяга осталась. Вот и заполняю пустоты и получаю удовлетворения от того, что нравится.
 
И могут в Вашем случае менять друг друга
Просто что-то бегло пробежался по инету. Кругом ИЕ16 есть, а ИЕ20 нету. Зато в продаже есть... А ИЕ16 посмотрел, у них какая-то схема иная.
 
что то я снова не правильно посчитал - таки 4096
Так-так-так... )))
Ладно, тут вопрос такой меня мучает. Конечно в микросхемы пока не хотелось углубляться, но всё же. Прочитал про эти триггеры немного (ну ту статейку, что мне по ссылке показали). А там всё как-то поверхностно. И остались масса вопросов конечно :) Хотелось узнать, что всё-таки обозначают эти буквы на схеме?
2017-09-28_00-53-47.png.webp S, C, D, E, R... В описании той же К561ИЕ10 написано С, Е, R. R - это ресет (сброс), А вот С и Е что значит?
 
Функционально совершенно одинакова, только разные к деления, они даже имеют один даташит, вот.
 

Вложения

  • 1.PNG.webp
    1.PNG.webp
    102.7 KB · Просмотры: 176
Функционально совершенно одинакова, только разные к деления, они даже имеют один даташит, вот.
Точно. Фактически одинаковые. А Цоколёвка и вовсе одинаковая. Я тоже когда её смотрел, предположил, что видимо это как один триггер, у которого много выводов с разными делениями, без перехода к другому триггеру. Так? Если так, то он по своей конструкции проще. Точнее по схеме подключения. Ну мне так кажется. Чем тот же 561ИЕ10 или 176ИЕ12
 
А вот С и Е что значит?
С - это счетный вход, на него подаются импульсы, которые нужно посчитать или частота, которую нужно поделить
в других случаях так может обозначаться вход синхронизации
Е - это обычно вход для разрешающего/запрещающего сигнала
 
С - это счетный вход, на него подаются импульсы, которые нужно посчитать или частота, которую нужно поделить
в других случаях так может обозначаться вход синхронизации
Е - это обычно вход для разрешающего/запрещающего сигнала
Большое спасибо! А то вроде предполагал, а вот экспертного, подтверждающего мнения не хватало, для закрепления изученного ;)
 
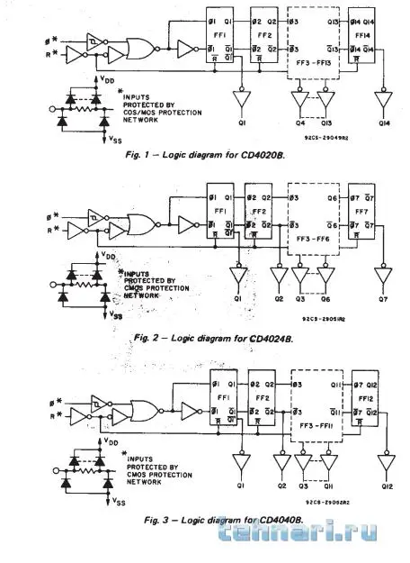
Триггер, это устройство обычно с 2 выходами(исключая триггер Шмидта), которые могут работать в разных режимах, в том числе и в счетном (делитель на два). В данном случае у К561ЕИ16 (4020) содержится 14 триггеров в счетном режиме, у К561ИЕ1(4024)-7 триггеров, в счетном режиме, а у К561ИЕ40 12 триггеров в счетном режиме, а в остальном схемы идентичны.
 

Вложения

  • 1.PNG.webp
    1.PNG.webp
    29.8 KB · Просмотры: 82
только разные к деления
Как узнать у кого, какие деления. В каких-то таблицах? Их там как-то надо высчитывать? Или они уже собранны в схему изначально? К примеру 2, 4 , 8, 16, 32 и т.д.... Или разными формами сигнала? Как вы узнали к примеру что делит на 256?
2017-09-28_01-16-30.png.webp
 
Назад
Сверху