• Добро пожаловать на компьютерный форум Tehnari.ru. Здесь разбираемся с проблемами ПК и ноутбуков: Windows, драйверы, «железо», сборка и апгрейд, софт и безопасность. Форум работает много лет, сейчас он переехал на новый движок, но старые темы и аккаунты мы постарались сохранить максимально аккуратно.

    Форум не связан с магазинами и сервисами – мы ничего не продаём и не даём «рекламу под видом совета». Отвечают обычные участники и модераторы, которые следят за порядком и качеством подсказок.

    Если вы у нас впервые, загляните на страницу о проекте, чтобы узнать больше. Чтобы создавать темы и писать сообщения, сначала зарегистрируйтесь, а затем войдите под своим логином.

    Не знаете, с чего начать? Создайте тему с описанием проблемы – подскажем и при необходимости перенесём её в подходящий раздел.
    Задать вопрос Новые сообщения Как правильно спросить
    Если пришли по ссылке со старого Tehnari.ru – вы на нужном месте, просто продолжайте обсуждение.

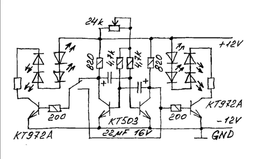
Светодиодный стробоскоп

Вот самая простая, извини лень было на компе рисовать, на бумажке быстрей ... :)

Стробоскоп.webp
 
Это полноценная рабочая схема?
Какие резисторы надо рассчитывать здесь исходя из применяемых диодов?
 
Не знаю, в магазине не был еще...хочу на мотоцикл сделать, чтобы сверкали и было подальше видно в зеркало заднего вида водителям
 
А какие светодиоды будут ? ... :)

посмотрел диоды, думаю поставить по два таких как в первом посту, 3-х ватные на каждую сторону, ну максимум по 3, больше не уместятся...
какой то дядя стоя за мной в очереди сказал, что такая схема для этих диодов слабовата будет...
 
какой то дядя стоя за мной в очереди сказал, что такая схема для этих диодов слабовата будет...
Вот я бы этому дяде с большими ушами, уши-то по-открутил! :D
Транзистор IRF530 рассчитан на ток 9.5 ампер, так что он без проблем потянет и два десятка таких светодиодов.
 
Вот я бы этому дяде с большими ушами, уши-то по-открутил! :D
Транзистор IRF530 рассчитан на ток 9.5 ампер, так что он без проблем потянет и два десятка таких светодиодов.

это не про вашу схему, а про мультивибратор
 
Симметричный мультивибратор 5-10Гц, в каждое плечо транзисторный ключ и будут мигать попеременно, можно оба ключа включить на одно плечо, будут мигать вместе. На каждом
ключе по 4-е светодиода, питание 12В ... :)

еще немножко позанудствую... а по данной схеме нельзя настраивать схемы миганий? например 3+3 и пр?
 
Валерий скажите что мне нужно изменить в схеме?-нашел 1 ватные диоды с током 300мА(4 шт) и блок питания 12 вольт и током 500мА.
 
Валерий скажите что мне нужно изменить в схеме?-нашел 1 ватные диоды с током 300мА(4 шт) и блок питания 12 вольт и током 500мА.
По расчетам, ничего не надо менять в схеме, ставь 4 светодиода по 300 мА. Если я не прав Валерий мне по Опе даст, чтоб вперед Батьки в пекло не лез ... :)
 
По расчетам, ничего не надо менять в схеме, ставь 4 светодиода по 300 мА. Если я не прав Валерий мне по Опе даст, чтоб вперед Батьки в пекло не лез ... :)

а они не сгорят???т.к. у Валерия стоят 3-х ватные диоды и на больший ток
 
Подойдет, диоды 300 мА, ток силовой цепи всего 300 мА + микросхема, должно
работать нормально, тем более динамический режим ... :)
 
Подойдет, диоды 300 мА, ток силовой цепи всего 300 мА + микросхема, должно
работать нормально, тем более динамический режим ... :)

ясно,но мне все таки интересно что скажет Валерий::tehnari_ru_942:tehnari_ru_203:
 
А чего тут говорить? Всё правильно. Ставь по два диода в цепочке и гасящий резистор на в каждой.
 

Вложения

  • Безымянный234.webp
    Безымянный234.webp
    19.9 KB · Просмотры: 2,748
Да, резисторы высчитай, ссылку выше дал, напряжение диода бери среднее 3В ... :)
 
Назад
Сверху